专利数据库
统计分析
产业报告
专利数据监控
产业人才
行业动态
产业政策法规
维权援助
个人中心
详情
文本
图像
标题
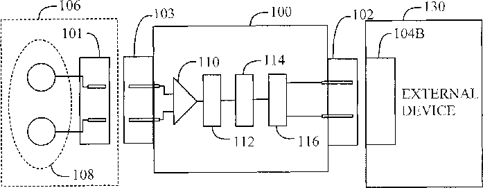
Data transfer
授权日
2015-06-30
公开(公告)号
US9066664
申请日
2009-03-13
公开(公告)日
2015-06-30
当前申请(专利权)人
POLAR ELECTRO OY
发明人
KARJALAINEN, MARKKU
简单同族
EP2405799A1 | EP2405799A4 | EP2405799B1 | US20110313304A1 | US9066664 | WO2010103164A1
简单同族成员数量
6
简单同族被引用专利总数
68
诉讼案件数
0
法律状态/事件
授权 | 权利转移
抱歉,您的浏览器不支持PDF预览,请点击链接下载PDF文件