专利数据库
统计分析
产业报告
专利数据监控
产业人才
行业动态
产业政策法规
维权援助
个人中心
详情
文本
图像
标题
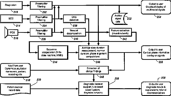
Multi-modal cardiac diagnostic decision support system and method
授权日
2003-06-03
公开(公告)号
US6572560
申请日
2000-09-25
公开(公告)日
2003-06-03
当前申请(专利权)人
3M INNOVATIVE PROPERTIES COMPANY
发明人
WATROUS, RAYMOND L. | REICHEK, NATHANIEL
简单同族
US20030093003A1 | US6572560 | US6953436
简单同族成员数量
3
简单同族被引用专利总数
190
诉讼案件数
0
法律状态/事件
授权 | 权利转移
抱歉,您的浏览器不支持PDF预览,请点击链接下载PDF文件