专利数据库
统计分析
产业报告
专利数据监控
产业人才
行业动态
产业政策法规
维权援助
个人中心
详情
文本
图像
标题
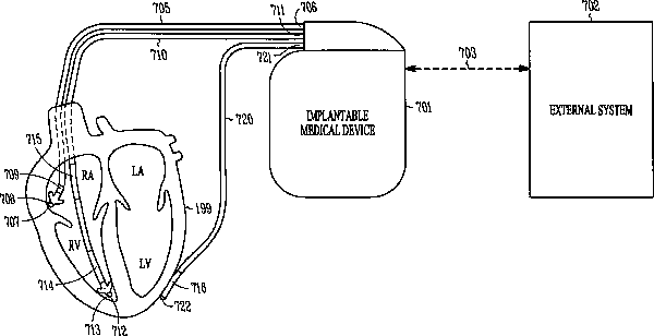
Optical depolarization of cardiac tissue
授权日
2015-09-22
公开(公告)号
US9138596
申请日
2007-08-22
公开(公告)日
2015-09-22
当前申请(专利权)人
CARDIAC PACEMAKERS, INC.
发明人
FOLEY, JOHN | STOLEN, CRAIG | SCHWARTZ, MARK
简单同族
US20090054954A1 | US9138596 | WO2009025819A1
简单同族成员数量
3
简单同族被引用专利总数
173
诉讼案件数
0
法律状态/事件
授权 | 权利转移
抱歉,您的浏览器不支持PDF预览,请点击链接下载PDF文件