专利数据库
统计分析
产业报告
专利数据监控
产业人才
行业动态
产业政策法规
维权援助
个人中心
详情
文本
图像
标题
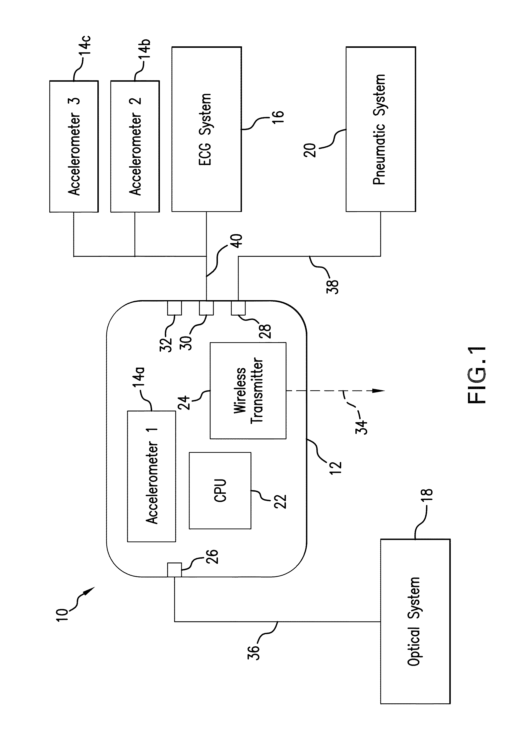
Graphical ‘mapping system’ for continuously monitoring a patient's vital signs, motion, and location
授权日
2015-02-17
公开(公告)号
US8956293
申请日
2009-05-20
公开(公告)日
2015-02-17
当前申请(专利权)人
SOTERA WIRELESS, INC.
发明人
MCCOMBIE, DEVIN | DHILLON, MARSHAL | BANET, MATT | TROMMER, GUNNAR | MOON, JIM
简单同族
EP2432380A1 | EP2432380A4 | EP2432380B1 | SG10201403428UA | SG176190A1 | US10555676 | US20100298656A1 | US20100298657A1 | US20100298658A1 | US20100298659A1 | US20100298660A1 | US20100298661A1 | US20120190949A1 | US20140163393A1 | US20150282717A1 | US20170150893A1 | US20180184910A1 | US20200178814A1 | US8180440 | US8594776 | US8909330 | US8956293 | US8956294 | US9055928 | US9492092 | US9566007 | US9901261 | WO2010135518A1
简单同族成员数量
28
简单同族被引用专利总数
586
诉讼案件数
0
法律状态/事件
授权 | 权利转移
抱歉,您的浏览器不支持PDF预览,请点击链接下载PDF文件