专利数据库
统计分析
产业报告
专利数据监控
产业人才
行业动态
产业政策法规
维权援助
个人中心
详情
文本
图像
标题
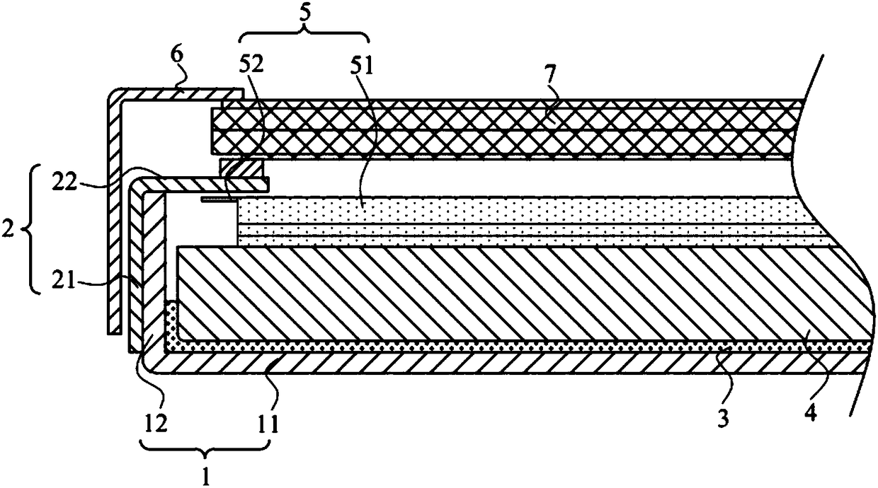
一种背光模组及液晶显示模组
授权日
2019-03-19
公开(公告)号
CN208621881U
申请日
2018-08-09
公开(公告)日
2019-03-19
当前申请(专利权)人
昆山龙腾光电股份有限公司
发明人
陆玉花 | 陆敏
简单同族
CN208621881U
简单同族成员数量
1
简单同族被引用专利总数
0
诉讼案件数
0
法律状态/事件
授权
抱歉,您的浏览器不支持PDF预览,请点击链接下载PDF文件