专利数据库
统计分析
产业报告
专利数据监控
产业人才
行业动态
产业政策法规
维权援助
个人中心
详情
文本
图像
标题
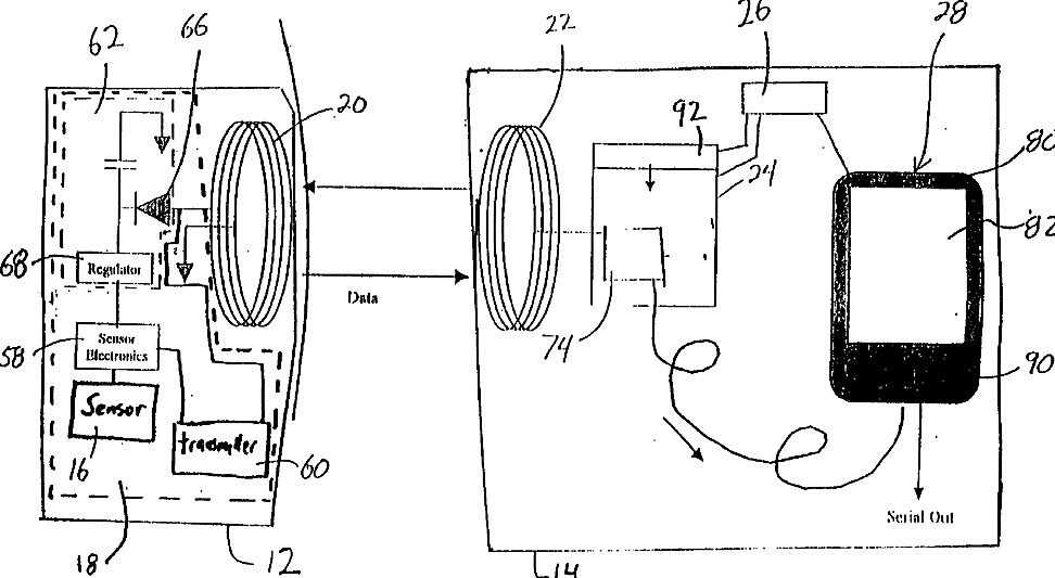
Implantable medical device with sensor
授权日
1900-01-01
公开(公告)号
US20020151770A1
申请日
2002-01-04
公开(公告)日
2002-10-17
当前申请(专利权)人
MEDTRONIC, INC.
发明人
NOLL, AUSTIN F. III | MIESEL, KEITH ALAN | STYLOS, LEE | GEIGER, MARK ALLEN | KINGHORN, CURTIS D. | LECKRONE, MICHAEL EUGENE
简单同族
EP1349492A2 | US20020151770A1 | WO2002062215A2 | WO2002062215A3
简单同族成员数量
4
简单同族被引用专利总数
203
诉讼案件数
0
法律状态/事件
撤回 | 权利转移
抱歉,您的浏览器不支持PDF预览,请点击链接下载PDF文件