专利数据库
统计分析
产业报告
专利数据监控
产业人才
行业动态
产业政策法规
维权援助
个人中心
详情
文本
图像
标题
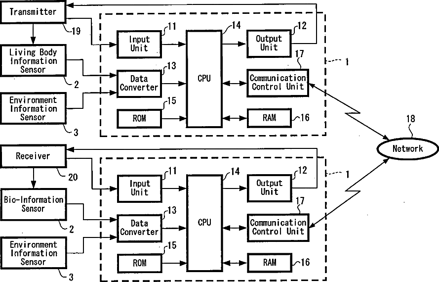
Communication apparatus and communication method
授权日
1900-01-01
公开(公告)号
US20050001727A1
申请日
2004-06-08
公开(公告)日
2005-01-06
当前申请(专利权)人
SONY CORPORATION
发明人
TERAUCHI, TOSHIRO | SAKO, YOICHIRO | INOUE, AKIKO | INOUE, MAKOTO | SHIRAI, KATSUYA | MIYAJIMA, YASUSHI | MAKINO, KENICHI | TAKAI, MOTOYUKI
简单同族
AT460720T | AU2004202542A1 | AU2004202542B2 | CA2472668A1 | CA2472668C | CN100565573C | CN1577354A | DE602004025880D1 | EP1494190A1 | EP1494190B1 | JP2005026861A | JP3979351B2 | KR101033037B1 | KR1020050005766A | MY135603A | SG144724A1 | US20050001727A1 | US20060197657A1 | US7199708 | US7800493
简单同族成员数量
20
简单同族被引用专利总数
72
诉讼案件数
0
法律状态/事件
未缴年费 | 权利转移
抱歉,您的浏览器不支持PDF预览,请点击链接下载PDF文件