专利数据库
统计分析
产业报告
专利数据监控
产业人才
行业动态
产业政策法规
维权援助
个人中心
详情
文本
图像
标题
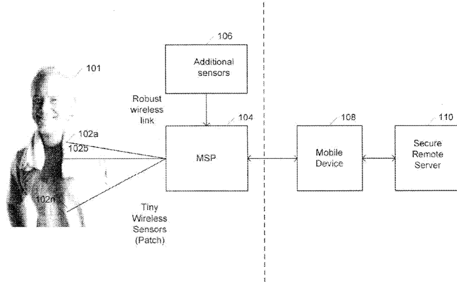
Medical signal processing system with distributed wireless sensors
授权日
1900-01-01
公开(公告)号
US20100049006A1
申请日
2007-02-23
公开(公告)日
2010-02-25
当前申请(专利权)人
HMICRO, INC.
发明人
MAGAR, SURENDAR | SATTIRAJU, VENKATESWARA RAO
简单同族
EP1993437A2 | EP1993437A4 | US20100049006A1 | WO2007101141A2 | WO2007101141A3
简单同族成员数量
5
简单同族被引用专利总数
190
诉讼案件数
0
法律状态/事件
撤回 | 权利转移
抱歉,您的浏览器不支持PDF预览,请点击链接下载PDF文件