专利数据库
统计分析
产业报告
专利数据监控
产业人才
行业动态
产业政策法规
维权援助
个人中心
详情
文本
图像
标题
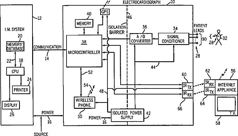
Portable ECG device with wireless communication interface to remotely monitor patients and method of use
授权日
2005-11-29
公开(公告)号
US6970737
申请日
2000-09-13
公开(公告)日
2005-11-29
当前申请(专利权)人
GE MEDICAL SYSTEMS INFORMATION TECHNOLOGIES, INC., A WISCONSIN CORPORATION
发明人
BRODNICK, DONALD EUGENE | ROWLANDSON, IAN
简单同族
DE60127626D1 | DE60127626T2 | EP1188412A2 | EP1188412A3 | EP1188412B1 | JP2002233512A | JP2002233512A5 | JP4897162B2 | US20050165318A1 | US20050165319A1 | US6970737
简单同族成员数量
11
简单同族被引用专利总数
133
诉讼案件数
0
法律状态/事件
未缴年费 | 权利转移
抱歉,您的浏览器不支持PDF预览,请点击链接下载PDF文件