专利数据库
统计分析
产业报告
专利数据监控
产业人才
行业动态
产业政策法规
维权援助
个人中心
详情
文本
图像
标题
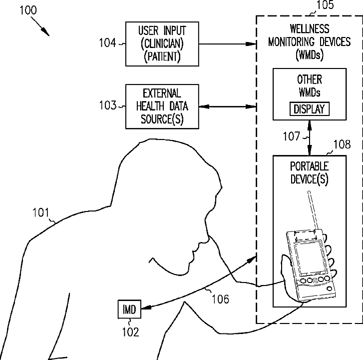
Advanced patient management with environmental data
授权日
1900-01-01
公开(公告)号
US20110275941A1
申请日
2011-07-18
公开(公告)日
2011-11-10
当前申请(专利权)人
CARDIAC PACEMAKERS, INC.
发明人
HATLESTAD, JOHN | STAHMANN, JEFFREY E. | ZHU, QINGSHENG
简单同族
US10092186 | US20040122294A1 | US20090124917A1 | US20110275941A1 | US20170035297A1 | US7983745 | US9480848
简单同族成员数量
7
简单同族被引用专利总数
210
诉讼案件数
0
法律状态/事件
授权
抱歉,您的浏览器不支持PDF预览,请点击链接下载PDF文件