专利数据库
统计分析
产业报告
专利数据监控
产业人才
行业动态
产业政策法规
维权援助
个人中心
详情
文本
图像
标题
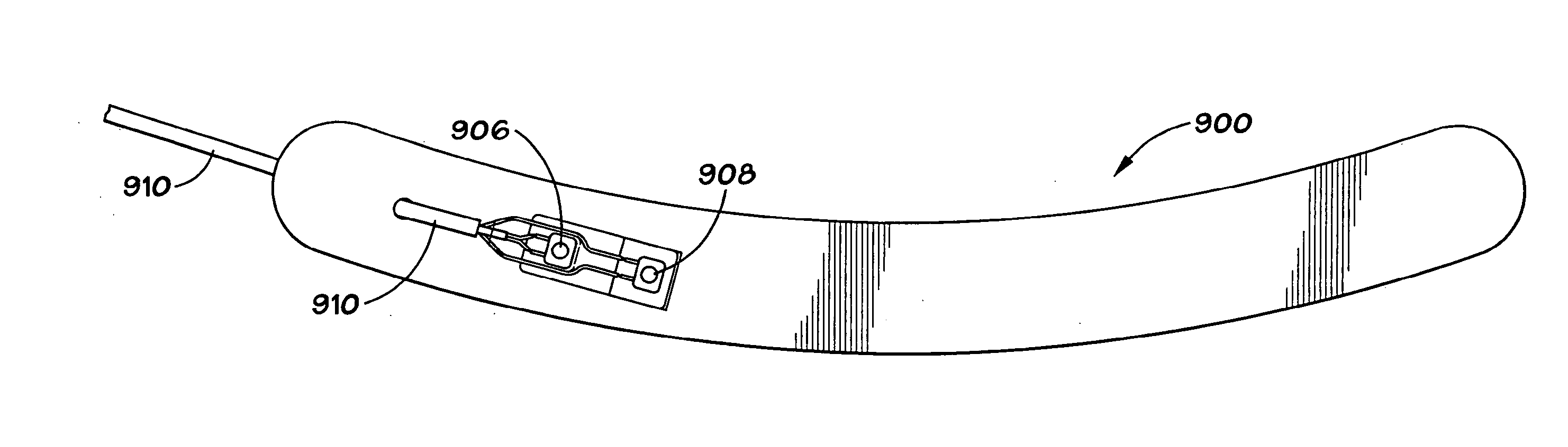
Forehead sensor placement
授权日
1900-01-01
公开(公告)号
US20110009723A1
申请日
2010-07-26
公开(公告)日
2011-01-13
当前申请(专利权)人
COVIDIEN LP
发明人
MANNHEIMER, PAUL D. | HANNULA, DON | BEBOUT, DONALD E. | O'NEIL, MICHAEL PATRICK
简单同族
AT479343T | CA2500651A1 | CA2500651C | DE60334007D1 | EP1549165A1 | EP1549165B1 | EP1549165B8 | ES2349633T3 | JP2006501379A | JP2006501379A5 | JP4603887B2 | US20040117891A1 | US20050070776A1 | US20060264726A1 | US20060281984A1 | US20110009723A1 | US7289837 | US7810359 | US7822453 | US7899509 | US8452367 | WO2004030480A1
简单同族成员数量
22
简单同族被引用专利总数
200
诉讼案件数
0
法律状态/事件
授权 | 权利转移
抱歉,您的浏览器不支持PDF预览,请点击链接下载PDF文件