专利数据库
统计分析
产业报告
专利数据监控
产业人才
行业动态
产业政策法规
维权援助
个人中心
详情
文本
图像
标题
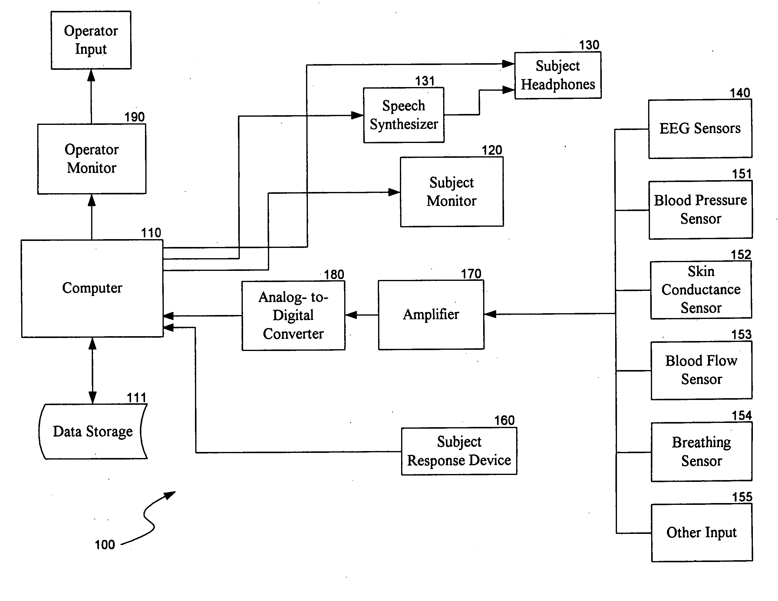
Method for a classification guilty knowledge test and integrated system for detection of deception and information
授权日
1900-01-01
公开(公告)号
US20050143629A1
申请日
2004-06-21
公开(公告)日
2005-06-30
当前申请(专利权)人
FARWELL LAWRENCE A.
发明人
FARWELL, LAWRENCE A.
简单同族
GB0601094D0 | GB2421329A | GB2421329B | US20050143629A1 | WO2005022293A2 | WO2005022293A3
简单同族成员数量
6
简单同族被引用专利总数
127
诉讼案件数
0
法律状态/事件
撤回
抱歉,您的浏览器不支持PDF预览,请点击链接下载PDF文件