专利数据库
统计分析
产业报告
专利数据监控
产业人才
行业动态
产业政策法规
维权援助
个人中心
详情
文本
图像
标题
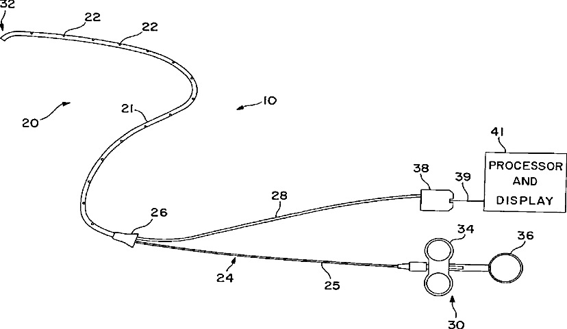
Steerable catheter and method for locating coronary sinus
授权日
2003-07-08
公开(公告)号
US6591144
申请日
2001-10-23
公开(公告)日
2003-07-08
当前申请(专利权)人
ADMINISTRATORS OF THE TULANE EDUCATIONAL FUND AT TULANE UNIVERSITY HEALTH SCIENCES CENTER
发明人
PIGOTT, JOHN D.
简单同族
AT511876T | AU2002360287A1 | CA2464649A1 | EP1455889A2 | EP1455889A4 | EP1455889B1 | US20030078645A1 | US20030195577A1 | US6591144 | WO2003035139A2 | WO2003035139A3
简单同族成员数量
11
简单同族被引用专利总数
68
诉讼案件数
0
法律状态/事件
授权 | 权利转移
抱歉,您的浏览器不支持PDF预览,请点击链接下载PDF文件