专利数据库
统计分析
产业报告
专利数据监控
产业人才
行业动态
产业政策法规
维权援助
个人中心
详情
文本
图像
标题
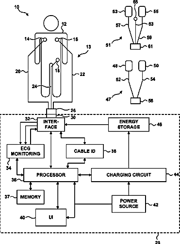
Electrocardiogram monitoring
授权日
2012-11-20
公开(公告)号
US8315693
申请日
2007-02-26
公开(公告)日
2012-11-20
当前申请(专利权)人
PHYSIO-CONTROL, INC.
发明人
LU, ZHONG QUN | NOVA, RICHARD C. | TAMURA, PAUL S. | DEBARDI, GARY A. | TECKLENBURG, DAVID W. | HART, TYLER R. | NEUMILLER, JAMES S. | CARDIN, RICHARD J.
简单同族
US20080027338A1 | US20130041421A1 | US20160045752A1 | US20170368362A1 | US8315693 | US9198593 | US9757578
简单同族成员数量
7
简单同族被引用专利总数
82
诉讼案件数
0
法律状态/事件
授权 | 质押 | 权利转移
抱歉,您的浏览器不支持PDF预览,请点击链接下载PDF文件