专利数据库
统计分析
产业报告
专利数据监控
产业人才
行业动态
产业政策法规
维权援助
个人中心
详情
文本
图像
标题
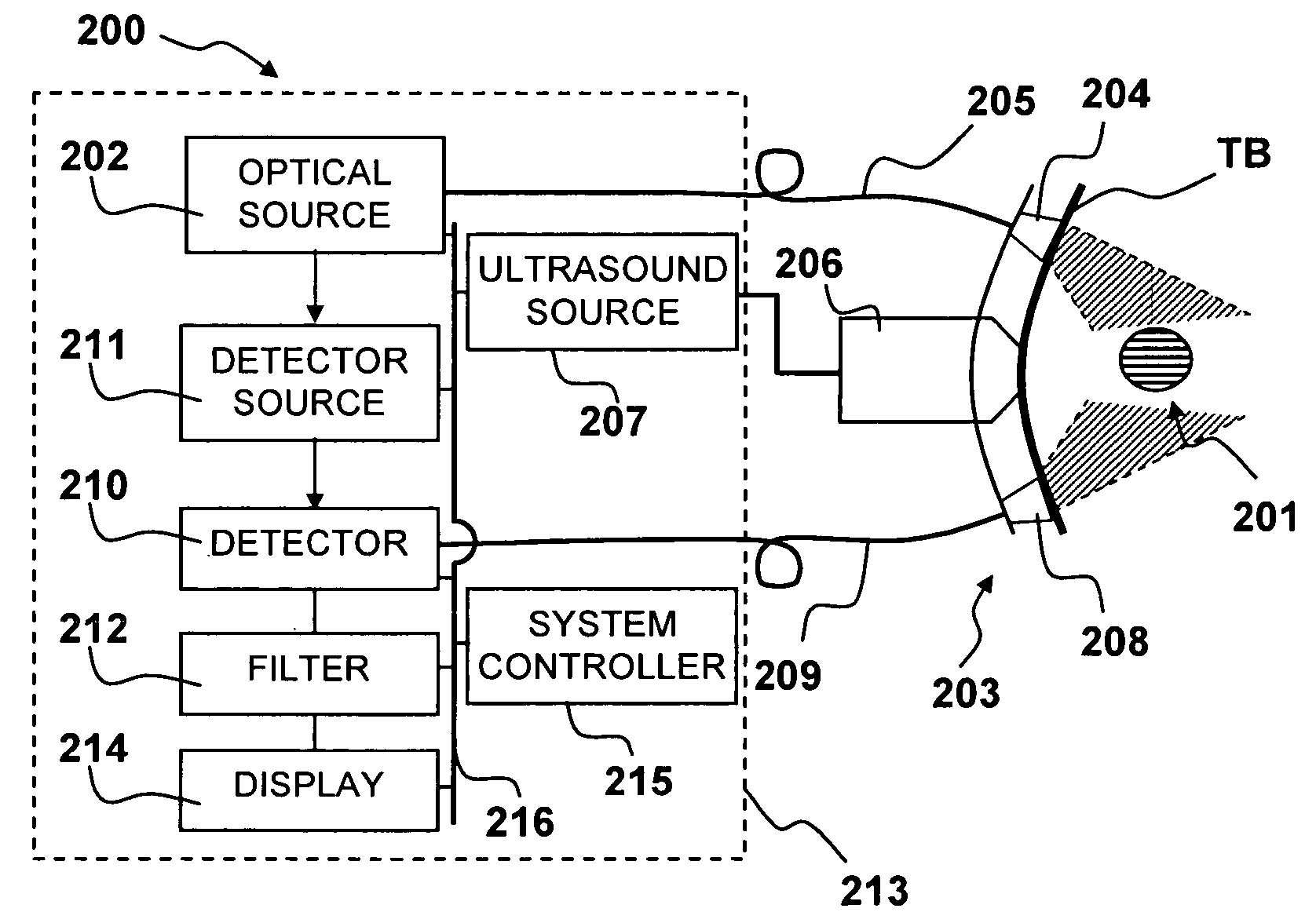
Apparatus and method for non-invasive and minimally-invasive sensing of parameters relating to blood
授权日
1900-01-01
公开(公告)号
US20070093702A1
申请日
2005-10-26
公开(公告)日
2007-04-26
当前申请(专利权)人
SKYLINE BIOMEDICAL, INC.
发明人
YU, ZENGPIN | KHURI-YAKUB, BUTRUS T. | CHENG, XUEFENG | KIM, DANIEL HWAN
简单同族
US20070093702A1 | US20100152591A1 | WO2007051066A2 | WO2007051066A3
简单同族成员数量
4
简单同族被引用专利总数
204
诉讼案件数
0
法律状态/事件
撤回 | 权利转移
抱歉,您的浏览器不支持PDF预览,请点击链接下载PDF文件