专利数据库
统计分析
产业报告
专利数据监控
产业人才
行业动态
产业政策法规
维权援助
个人中心
详情
文本
图像
标题
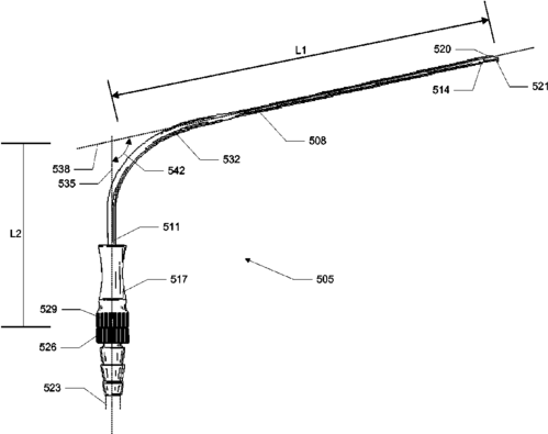
Tissue retractor oximeter
授权日
2016-07-05
公开(公告)号
US9380966
申请日
2008-05-24
公开(公告)日
2016-07-05
当前申请(专利权)人
VIOPTIX, INC.
发明人
MAO, JIMMY JIAN-MIN | LASH, ROBERT E.
简单同族
CA2762547A1 | CA2762547C | CA2985589A1 | CN102105102A | CN102105102B | EP2280649A2 | EP2280649A4 | JP2011523368A | JP2015044044A | JP5730193B2 | JP5941962B2 | US10178968 | US20080319290A1 | US20160302705A1 | US20190150810A1 | US9380966 | WO2009151916A2 | WO2009151916A3
简单同族成员数量
18
简单同族被引用专利总数
120
诉讼案件数
0
法律状态/事件
授权 | 质押
抱歉,您的浏览器不支持PDF预览,请点击链接下载PDF文件