专利数据库
统计分析
产业报告
专利数据监控
产业人才
行业动态
产业政策法规
维权援助
个人中心
详情
文本
图像
标题
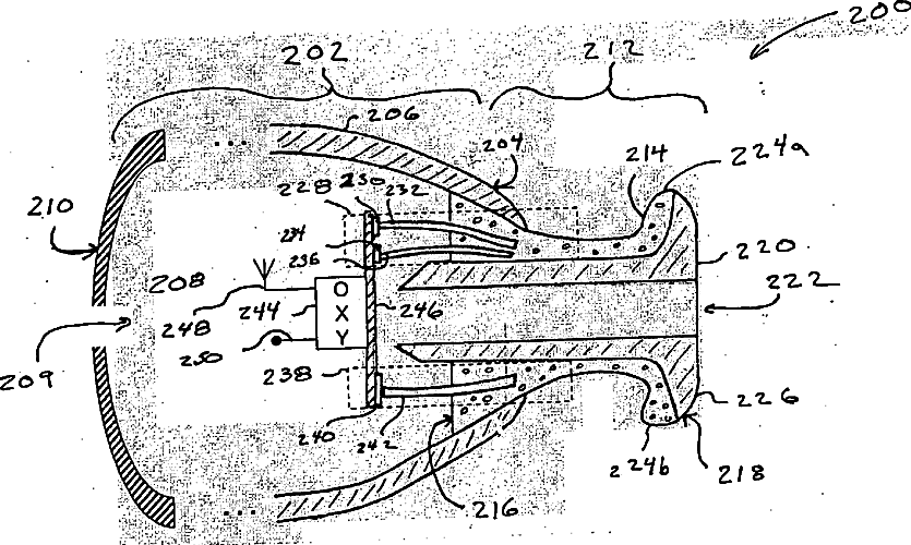
Pulse oximetry methods and apparatus for use within an auditory canal
授权日
1900-01-01
公开(公告)号
US20050049471A1
申请日
2004-05-17
公开(公告)日
2005-03-03
当前申请(专利权)人
SARNOFF CORPORATION
发明人
ACETI, JOHN GREGORY
简单同族
EP1680013A1 | EP1680013A4 | US20050049471A1 | US7107088 | WO2005020806A1
简单同族成员数量
5
简单同族被引用专利总数
172
诉讼案件数
0
法律状态/事件
未缴年费 | 权利转移
抱歉,您的浏览器不支持PDF预览,请点击链接下载PDF文件