专利数据库
统计分析
产业报告
专利数据监控
产业人才
行业动态
产业政策法规
维权援助
个人中心
详情
文本
图像
标题
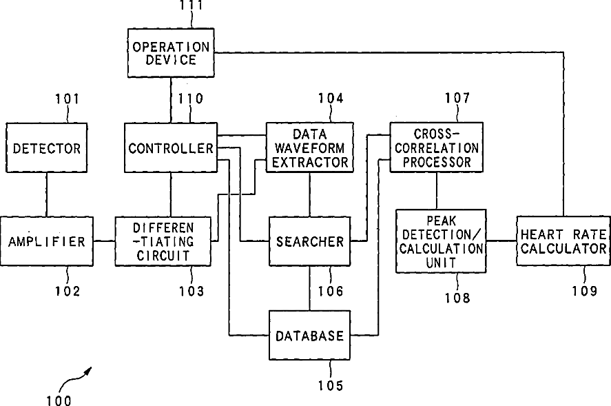
System, method, program, and medium for measuring heart rate
授权日
1900-01-01
公开(公告)号
US20040044292A1
申请日
2003-08-28
公开(公告)日
2004-03-04
当前申请(专利权)人
PIONEER CORPORATION
发明人
YASUSHI, MITSUO | YANAGIDAIRA, MASATOSHI
简单同族
EP1393673A1 | JP2004089314A | JP3980969B2 | US20040044292A1 | US7245960
简单同族成员数量
5
简单同族被引用专利总数
96
诉讼案件数
0
法律状态/事件
未缴年费 | 权利转移
抱歉,您的浏览器不支持PDF预览,请点击链接下载PDF文件