专利数据库
统计分析
产业报告
专利数据监控
产业人才
行业动态
产业政策法规
维权援助
个人中心
详情
文本
图像
标题
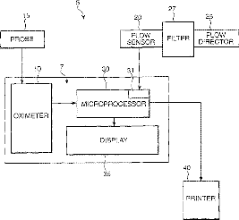
Medical microprocessor system and method for providing a ventilation indexed oximetry value
授权日
2003-08-19
公开(公告)号
US6609016
申请日
2000-07-28
公开(公告)日
2003-08-19
当前申请(专利权)人
LYNN LAWRENCE A.
发明人
LYNN, LAWRENCE A.
简单同族
US6609016
简单同族成员数量
1
简单同族被引用专利总数
186
诉讼案件数
0
法律状态/事件
期限届满
抱歉,您的浏览器不支持PDF预览,请点击链接下载PDF文件