专利数据库
统计分析
产业报告
专利数据监控
产业人才
行业动态
产业政策法规
维权援助
个人中心
详情
文本
图像
标题
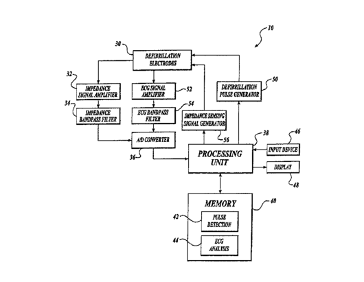
Pulse detection method and apparatus using patient impedance
授权日
2018-04-24
公开(公告)号
US9950178
申请日
2010-01-15
公开(公告)日
2018-04-24
当前申请(专利权)人
PHYSIO-CONTROL, INC.
发明人
STICKNEY, RONALD E. | TAYLOR, JAMES W. | O'HEARN, PATRICIA | JAYNE, CYNTHIA P. | LANK, PAULA | HAMPTON, DAVID R.
简单同族
AU2002351308A1 | AU2002351308A8 | EP1478429A2 | EP1478429A4 | US20030109790A1 | US20070288060A1 | US20100114219A1 | US20100121208A1 | US20100121392A1 | US20100292748A9 | US8092392 | US8663121 | US9950178 | WO2003049803A2 | WO2003049803A3
简单同族成员数量
15
简单同族被引用专利总数
83
诉讼案件数
0
法律状态/事件
授权 | 质押 | 权利转移
抱歉,您的浏览器不支持PDF预览,请点击链接下载PDF文件