专利数据库
统计分析
产业报告
专利数据监控
产业人才
行业动态
产业政策法规
维权援助
个人中心
详情
文本
图像
标题
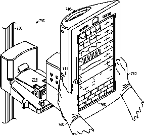
Dynamically reconfiguring a user interface of a patient monitor responsive to an orientation input
授权日
2015-09-08
公开(公告)号
US9125630
申请日
2011-10-28
公开(公告)日
2015-09-08
当前申请(专利权)人
SHENZHEN MINDRAY BIO-MEDICAL ELECTRONICS CO. LTD.
发明人
MENZEL, FRANK
简单同族
CN103181752A | CN103181752B | US20130109928A1 | US9125630
简单同族成员数量
4
简单同族被引用专利总数
69
诉讼案件数
0
法律状态/事件
授权 | 权利转移
抱歉,您的浏览器不支持PDF预览,请点击链接下载PDF文件