专利数据库
统计分析
产业报告
专利数据监控
产业人才
行业动态
产业政策法规
维权援助
个人中心
详情
文本
图像
标题
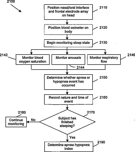
Mask assembly, system and method for determining the occurrence of respiratory events using frontal electrode array
授权日
1900-01-01
公开(公告)号
US20070208269A1
申请日
2007-04-26
公开(公告)日
2007-09-06
当前申请(专利权)人
NATUS MEDICAL INCORPORATED
发明人
MUMFORD, JOHN ROBERT | KURTZ, RONALD LEON | WU, JIANPING
简单同族
US20070208269A1
简单同族成员数量
1
简单同族被引用专利总数
172
诉讼案件数
0
法律状态/事件
撤回 | 权利转移
抱歉,您的浏览器不支持PDF预览,请点击链接下载PDF文件