专利数据库
统计分析
产业报告
专利数据监控
产业人才
行业动态
产业政策法规
维权援助
个人中心
详情
文本
图像
标题
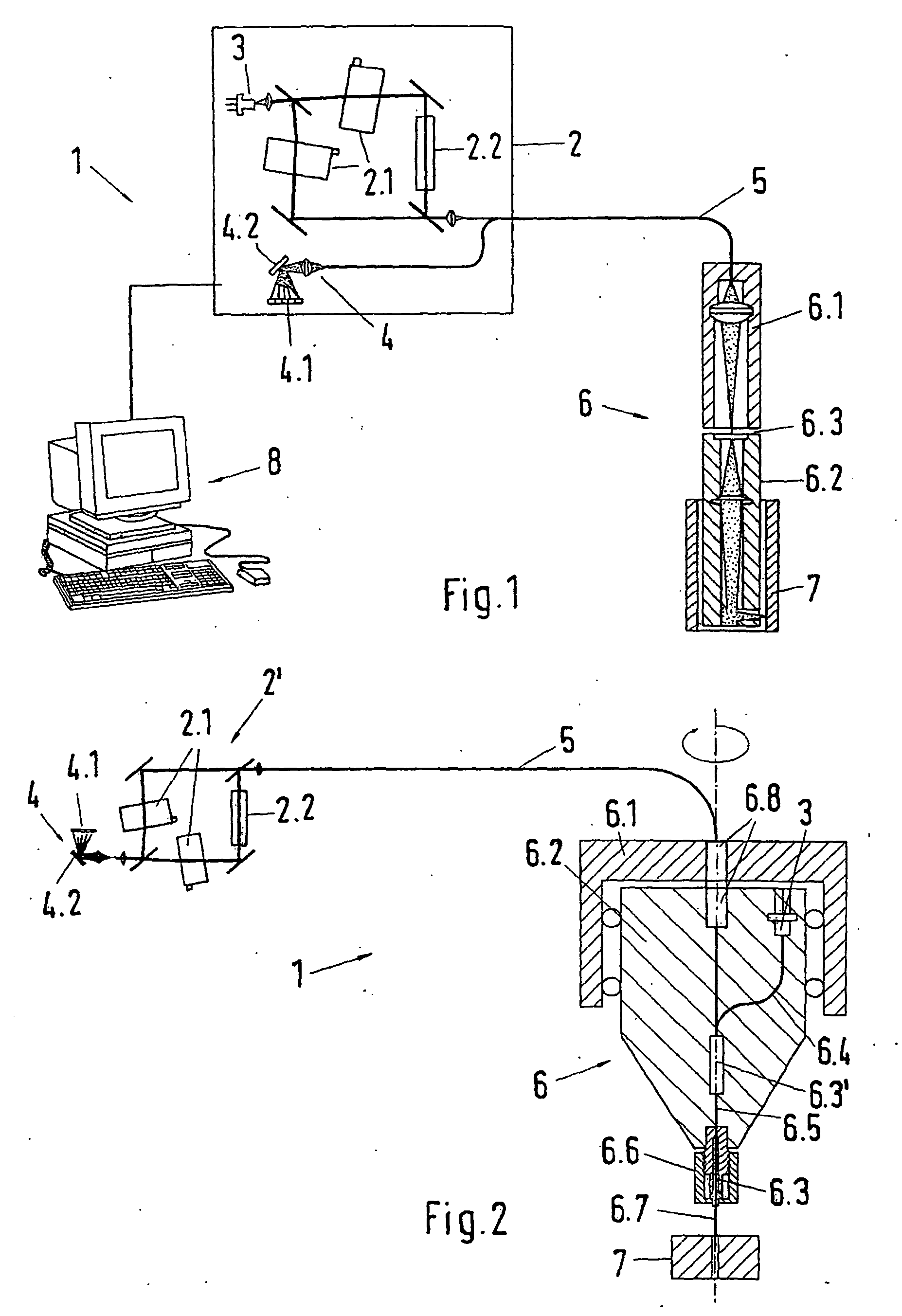
Interferometric measuring device
授权日
2012-08-15
公开(公告)号
EP1337803B1
申请日
2001-11-07
公开(公告)日
2012-08-15
当前申请(专利权)人
TAYLOR HOBSON LTD.
发明人
DRABAREK, PAWEL
简单同族
DE10057540A1 | EP1337803A1 | EP1337803B1 | EP1337803B2 | JP2004514124A | JP4131666B2 | KR100854259B1 | KR1020030045193A | US20040061865A1 | US7187450 | WO2002040936A1
简单同族成员数量
11
简单同族被引用专利总数
69
诉讼案件数
0
法律状态/事件
授权 | 权利转移 | 异议
抱歉,您的浏览器不支持PDF预览,请点击链接下载PDF文件