专利数据库
统计分析
产业报告
专利数据监控
产业人才
行业动态
产业政策法规
维权援助
个人中心
详情
文本
图像
标题
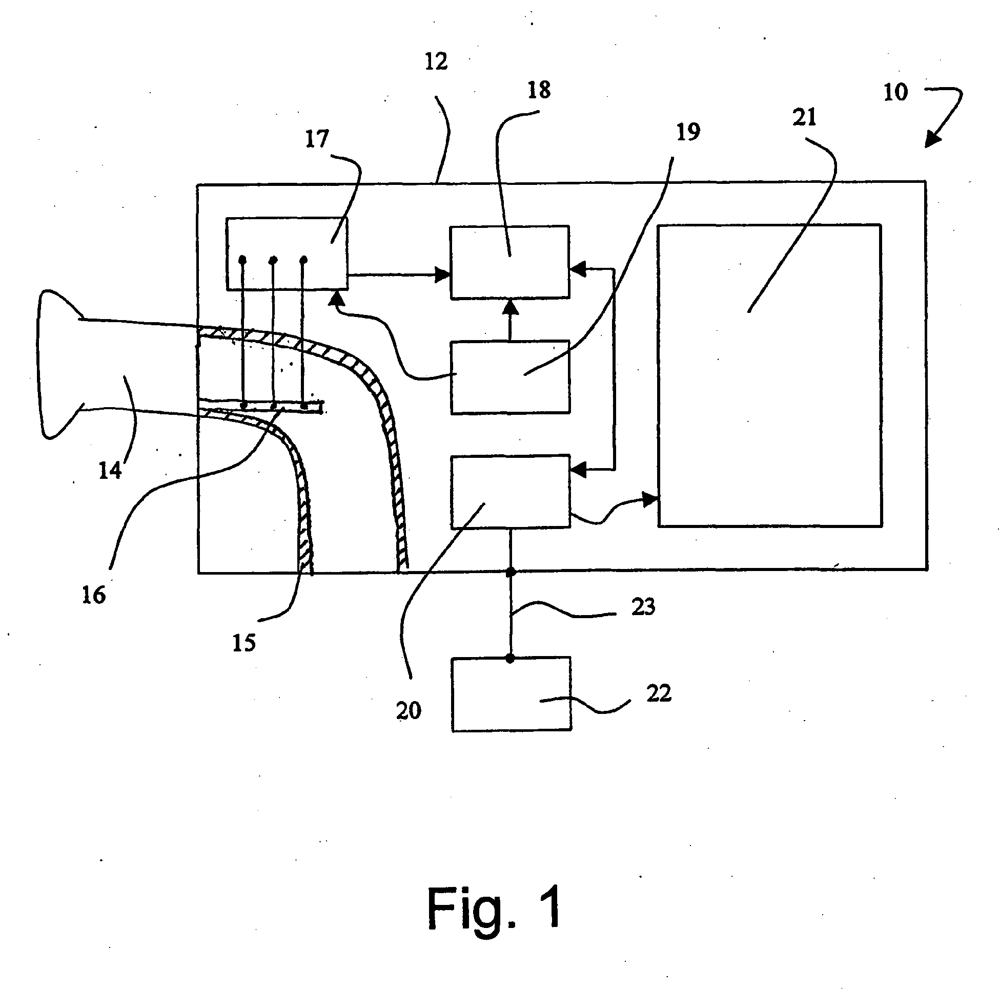
Hand-held medical apparatus
授权日
2012-07-11
公开(公告)号
EP1446050B1
申请日
2002-11-08
公开(公告)日
2012-07-11
当前申请(专利权)人
INVOY TECHNOLOGIES, LLC
发明人
ALLEN, JEFFREY, R. | CRANLEY, PAUL, E | DANOWSKI, KRISTINE, L. | MCINTYRE, JAMES, A. | SHICK, REED, A. | SUN, LARRY | ROSNER, BETTINA M.
简单同族
AU2002348199A1 | CA2464738A1 | CA2465048A1 | CN1620502A | EP1446050A1 | EP1446050A4 | EP1446050B1 | EP1523551A2 | EP1523551A4 | HK1078323A | MXPA04004389A | MXPA04004441A | US20040236244A1 | US20080004542A1 | US7364551 | WO2003039367A1 | WO2003039483A2 | WO2003039483A3
简单同族成员数量
18
简单同族被引用专利总数
199
诉讼案件数
0
法律状态/事件
权利终止 | 权利转移
抱歉,您的浏览器不支持PDF预览,请点击链接下载PDF文件