专利数据库
统计分析
产业报告
专利数据监控
产业人才
行业动态
产业政策法规
维权援助
个人中心
详情
文本
图像
标题
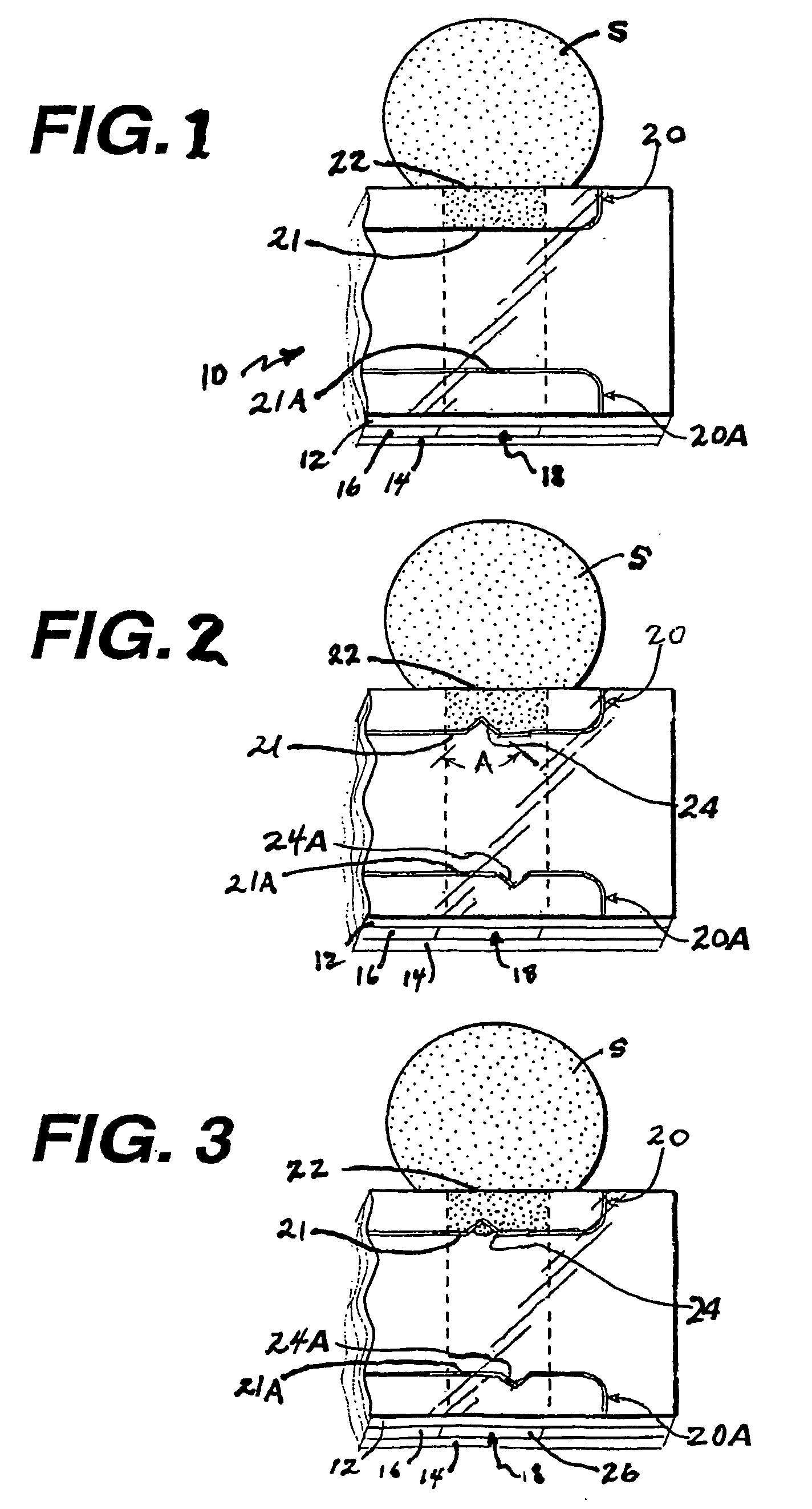
Capillary flow control in a medical diagnostic device
授权日
2005-08-03
公开(公告)号
EP1268063B1
申请日
2001-03-23
公开(公告)日
2005-08-03
当前申请(专利权)人
LIFESCAN, INC.
发明人
SHARTLE, ROBERT, JUSTICE
简单同族
AR028908A1 | AT301001T | AU2001049430A1 | CA2405423A1 | CN1222361C | CN1431934A | DE60112414D1 | DE60112414T2 | DK1268063T3 | EP1268063A2 | EP1268063B1 | ES2247090T3 | HK1049458A | HK1049458A1 | IL151915D0 | JP2003529089A | KR1020020092402A | MXPA02009664A | PL357112A1 | PT1268063E | RU2002125862A | RU2237426C2 | TW496960B | US6488827 | WO2001074242A2 | WO2001074242A3
简单同族成员数量
26
简单同族被引用专利总数
203
诉讼案件数
0
法律状态/事件
授权
抱歉,您的浏览器不支持PDF预览,请点击链接下载PDF文件