专利数据库
统计分析
产业报告
专利数据监控
产业人才
行业动态
产业政策法规
维权援助
个人中心
详情
文本
图像
标题
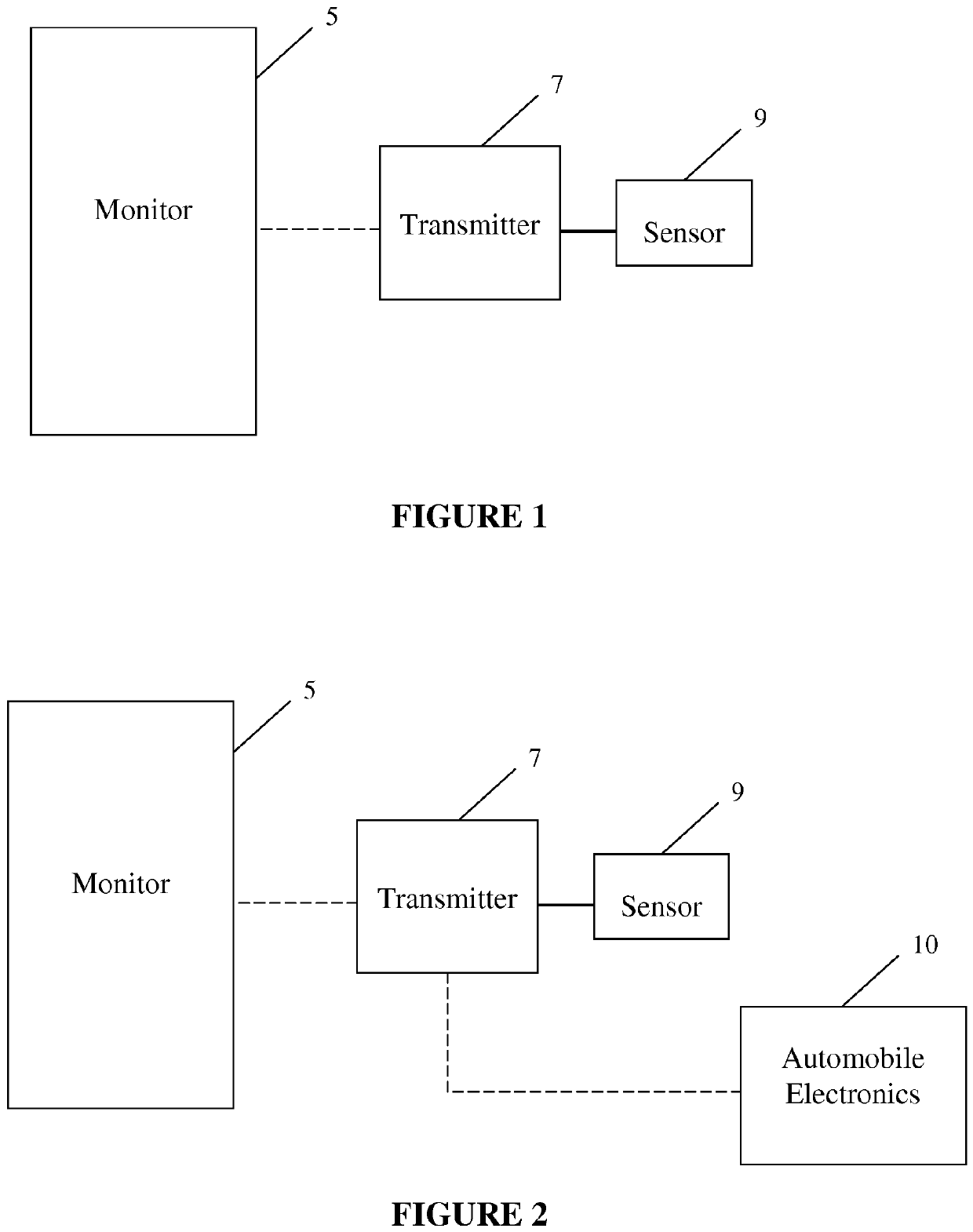
Automobile physiological monitoring system
授权日
2019-01-02
公开(公告)号
EP2278910B1
申请日
2009-04-16
公开(公告)日
2019-01-02
当前申请(专利权)人
MEDTRONIC MINIMED, INC.
发明人
ENEGREN, BRADLEY, J. | PATEL, HIMANSHU | MADZAR, BOGDAN | YOON, RICHARD, K.
简单同族
EP2278910A1 | EP2278910B1 | EP2278910B8 | US20090267774A1 | US20090267775A1 | US20090270705A1 | US8207859 | US8207860 | WO2009134622A1
简单同族成员数量
9
简单同族被引用专利总数
202
诉讼案件数
0
法律状态/事件
授权 | 权利转移
抱歉,您的浏览器不支持PDF预览,请点击链接下载PDF文件