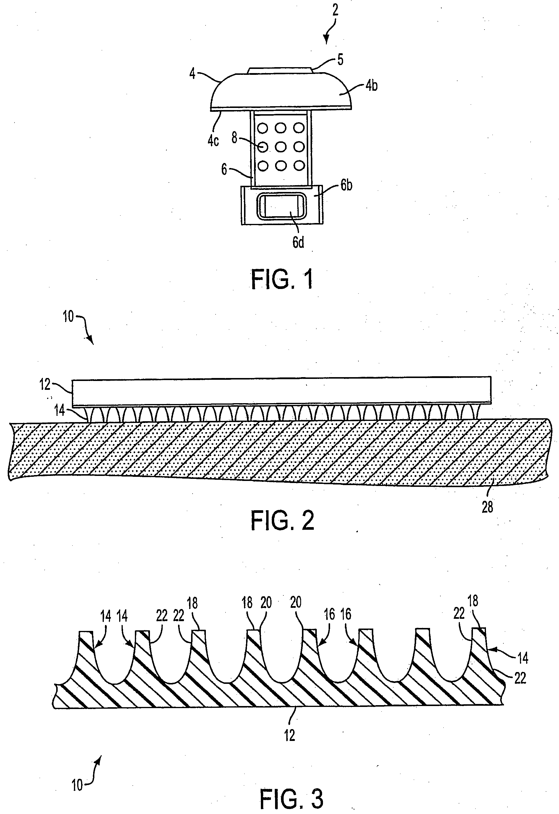
Substance delivery via a rotating microabrading system
授权日
2016-10-05
公开(公告)号
EP1531721B1
申请日
2003-08-27
公开(公告)日
2016-10-05
当前申请(专利权)人
BECTON, DICKINSON AND COMPANY
发明人
HAIDER, M., ISHAQ | LASTOVICH, ALEXANDER, G. | ERSKINE, TIMOTHY, J. | MIKSZTA, JOHN, A. | MARTIN, FRANK, E. | O'CONNOR, SCOTT, A. | ALARCON, JASON, B. | DEKKER, JOHN, P., III