专利数据库
统计分析
产业报告
专利数据监控
产业人才
行业动态
产业政策法规
维权援助
个人中心
详情
文本
图像
标题
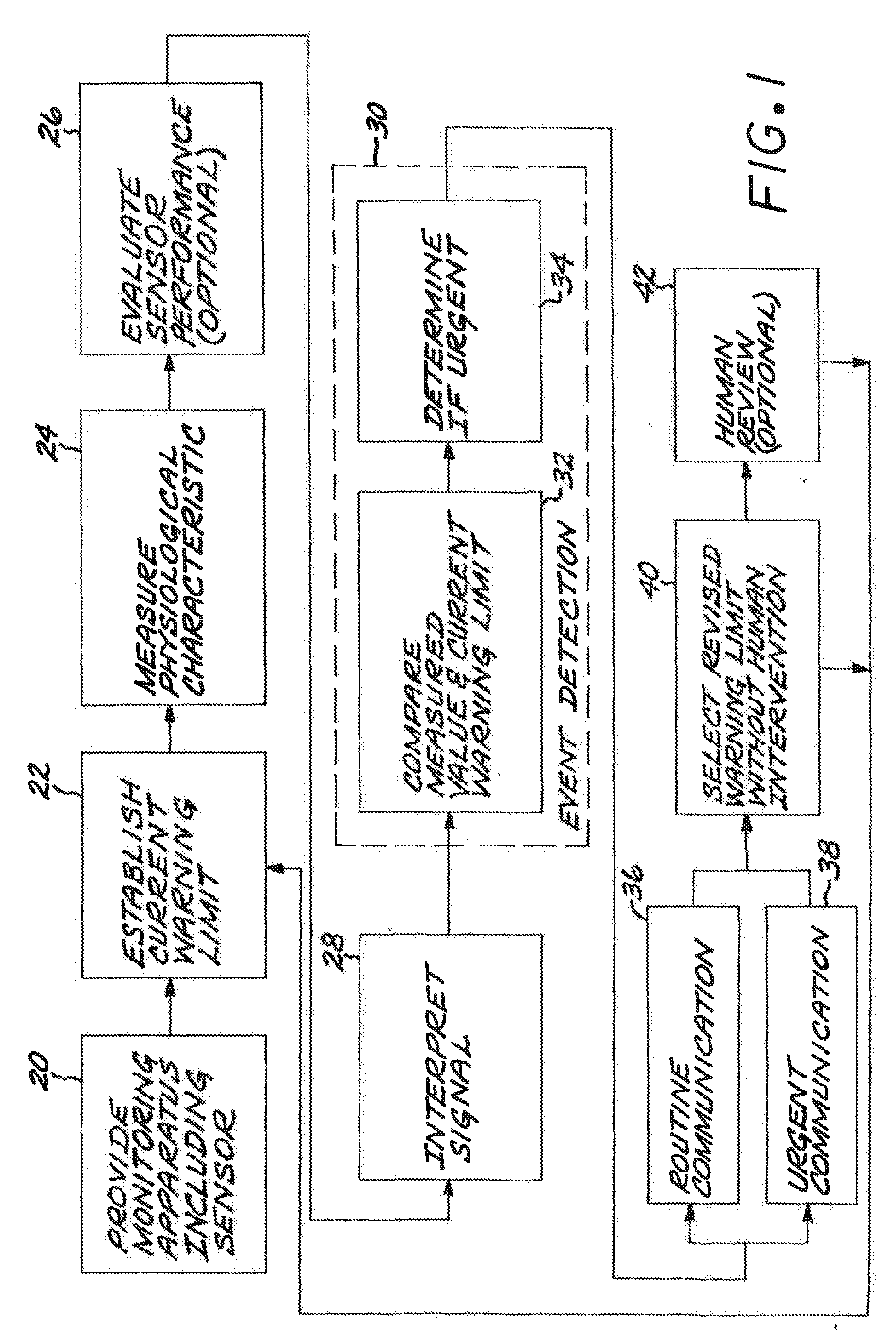
Adaptive selection of a warning limit in patient monitoring
授权日
2016-11-30
公开(公告)号
EP2298158B1
申请日
2002-04-22
公开(公告)日
2016-11-30
当前申请(专利权)人
CARDIONET, INC.
发明人
EGGERS, PHILLIP N
简单同族
AU2002338433A1 | AU2002338433B2 | CA2444741A1 | CA2444741C | CN1511010A | DE60238474D1 | EP1381309A2 | EP1381309B1 | EP2298158A1 | EP2298158B1 | ES2355610T3 | JP2004529704A | KR1020040015124A | US20020156352A1 | US6569095 | WO2002085200A2 | WO2002085200A3
简单同族成员数量
17
简单同族被引用专利总数
179
诉讼案件数
0
法律状态/事件
权利终止 | 权利转移
抱歉,您的浏览器不支持PDF预览,请点击链接下载PDF文件