专利数据库
统计分析
产业报告
专利数据监控
产业人才
行业动态
产业政策法规
维权援助
个人中心
详情
文本
图像
标题
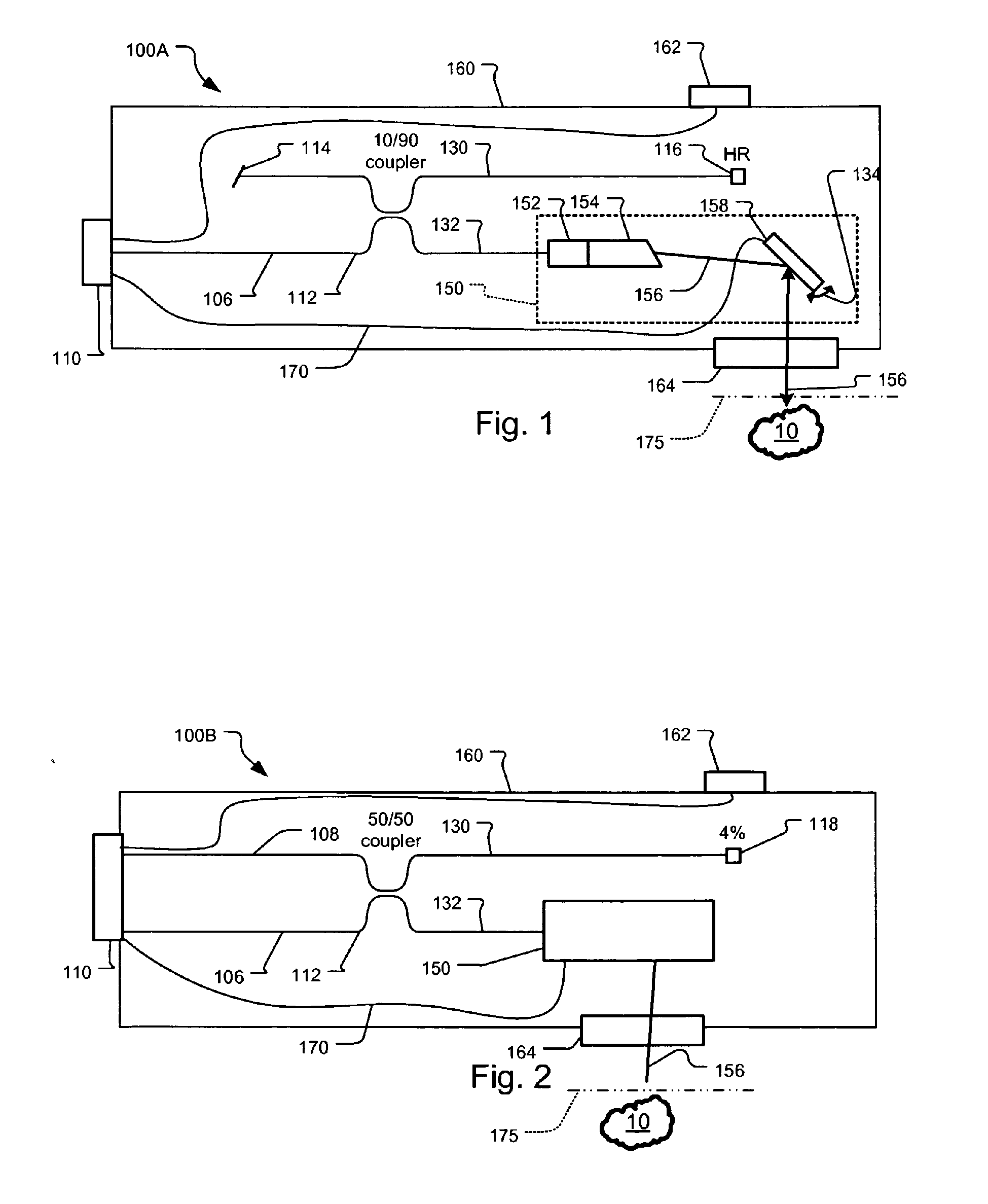
Oct combining probes and integrated systems
授权日
2013-11-20
公开(公告)号
EP2315999B1
申请日
2009-05-15
公开(公告)日
2013-11-20
当前申请(专利权)人
AXSUN TECHNOLOGIES, INC.
发明人
JOHNSON, BARTLEY, C. | FLANDERS, DALE, C.
简单同族
EP2315999A2 | EP2315999B1 | EP2677272A1 | EP2677272B1 | JP2011523460A | JP5538368B2 | US20090284749A1 | US20120300215A1 | US20120300216A1 | US20180031363A1 | US8259303 | US9772177 | WO2009140617A2 | WO2009140617A3
简单同族成员数量
14
简单同族被引用专利总数
177
诉讼案件数
0
法律状态/事件
授权
抱歉,您的浏览器不支持PDF预览,请点击链接下载PDF文件