专利数据库
统计分析
产业报告
专利数据监控
产业人才
行业动态
产业政策法规
维权援助
个人中心
详情
文本
图像
标题
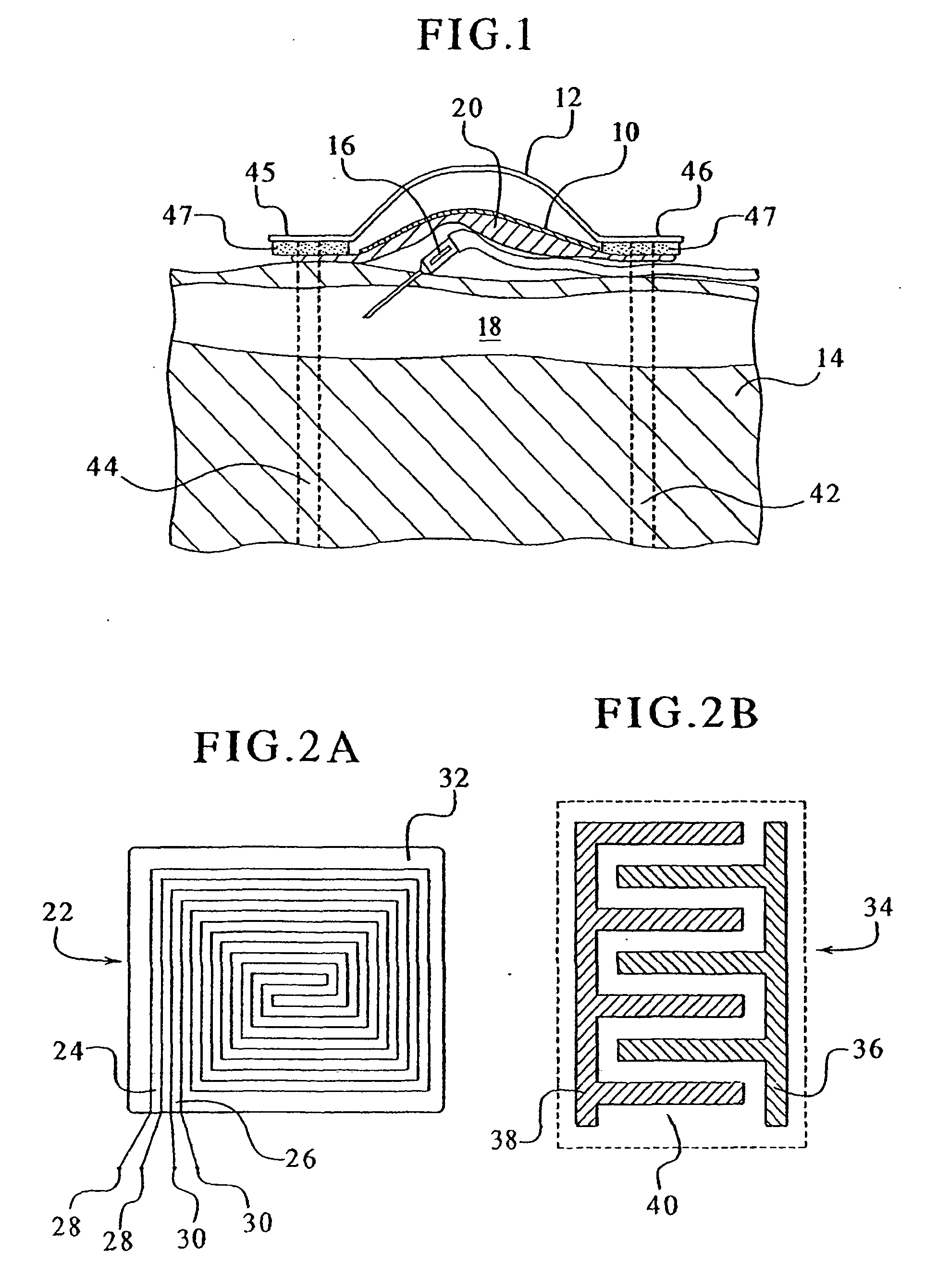
Needle dislodgement detection
授权日
2006-03-01
公开(公告)号
EP1401518B1
申请日
2002-05-30
公开(公告)日
2006-03-01
当前申请(专利权)人
BAXTER INTERNATIONAL INC.
发明人
WARIAR, RAMESH | HARTRANFT, THOMAS, P. | CAMERON, NORM | LASSO, ANGEL | CARO, HECTOR
简单同族
AT318627T | DE60209488D1 | DE60209488T2 | DE60209488T3 | EP1401518A1 | EP1401518B1 | EP1401518B2 | JP2005516637A | JP2009183727A | JP4368676B2 | MXPA04000121A | US20020198483A1 | US7147615 | WO2003000315A1
简单同族成员数量
14
简单同族被引用专利总数
209
诉讼案件数
0
法律状态/事件
授权 | 异议
抱歉,您的浏览器不支持PDF预览,请点击链接下载PDF文件