专利数据库
统计分析
产业报告
专利数据监控
产业人才
行业动态
产业政策法规
维权援助
个人中心
详情
文本
图像
标题
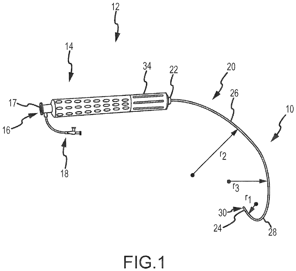
Steerable sheath access device assembly
授权日
2016-12-21
公开(公告)号
EP2073737B1
申请日
2007-10-10
公开(公告)日
2016-12-21
当前申请(专利权)人
ST. JUDE MEDICAL, ATRIAL FIBRILLATION DIVISION, IN
发明人
KAUPHUSMAN, JAMES V. | FUENTES, ALLAN M. | TEGG, TROY T. | JUST, DALE E.
简单同族
EP2068738A2 | EP2068738A4 | EP2068738B1 | EP2073737A2 | EP2073737A4 | EP2073737B1 | EP2898848A1 | EP2898848B1 | US10285753 | US20090254078A1 | US20090287210A1 | US20100094279A1 | US20120108938A1 | US20150196356A1 | US20160213423A1 | US20160361114A1 | US8814824 | US8968299 | US9247990 | US9364282 | WO2008045877A2 | WO2008045877A3 | WO2008045929A2 | WO2008045929A3 | WO2008045936A2 | WO2008045936A3 | WO2008045938A2 | WO2008045938A3
简单同族成员数量
28
简单同族被引用专利总数
128
诉讼案件数
0
法律状态/事件
授权 | 权利转移
抱歉,您的浏览器不支持PDF预览,请点击链接下载PDF文件