专利数据库
统计分析
产业报告
专利数据监控
产业人才
行业动态
产业政策法规
维权援助
个人中心
详情
文本
图像
标题
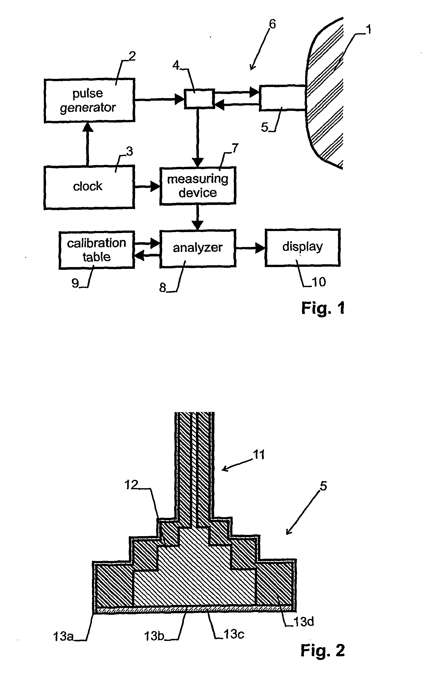
Method and device for measuring glucose
授权日
2009-10-21
公开(公告)号
EP1691671B1
申请日
2002-09-04
公开(公告)日
2009-10-21
当前申请(专利权)人
SOLIANIS HOLDING AG
发明人
CADUFF, ANDREAS | FELDMAN, YURI
简单同族
AT446045T | AU2002326098A1 | AU2002326098A8 | DE60234138D1 | EP1691671A1 | EP1691671B1 | US20050203361A1 | US7184810 | WO2004021877A1 | WO2004021877A9
简单同族成员数量
10
简单同族被引用专利总数
185
诉讼案件数
0
法律状态/事件
权利终止 | 权利转移
抱歉,您的浏览器不支持PDF预览,请点击链接下载PDF文件