专利数据库
统计分析
产业报告
专利数据监控
产业人才
行业动态
产业政策法规
维权援助
个人中心
详情
文本
图像
标题
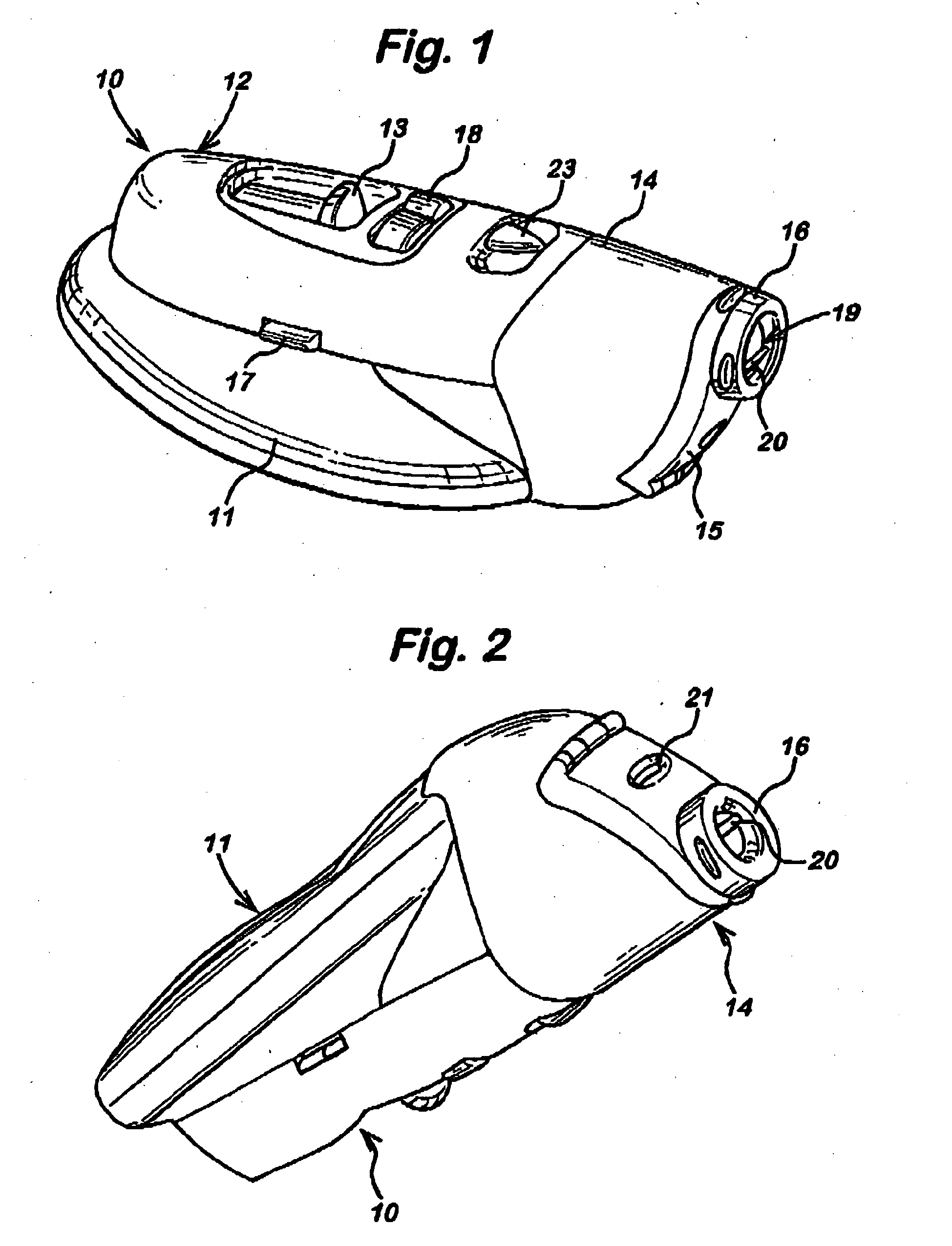
In-situ adapter for an analyte testing device
授权日
2010-10-27
公开(公告)号
EP1854408B1
申请日
2002-08-16
公开(公告)日
2010-10-27
当前申请(专利权)人
LIFESCAN SCOTLAND LTD
发明人
MOERMAN, PIET | GRIFFITH, ALUN
简单同族
AU2002324122A1 | CA2427973A1 | CA2427973C | CA2759776A1 | CA2776899A1 | CN100463652C | CN1525835A | DE60221347D1 | DE60221347T2 | DE60221347T3 | DE60238150D1 | EP1349497A2 | EP1349497B1 | EP1349497B2 | EP1854408A2 | EP1854408A3 | EP1854408B1 | HK1113899A | HK1113899A1 | IL155681A | IL155681D0 | JP2004538077A | JP4302517B2 | US20040267229A1 | WO2003015627A2 | WO2003015627A3
简单同族成员数量
26
简单同族被引用专利总数
178
诉讼案件数
0
法律状态/事件
授权
抱歉,您的浏览器不支持PDF预览,请点击链接下载PDF文件