专利数据库
统计分析
产业报告
专利数据监控
产业人才
行业动态
产业政策法规
维权援助
个人中心
详情
文本
图像
标题
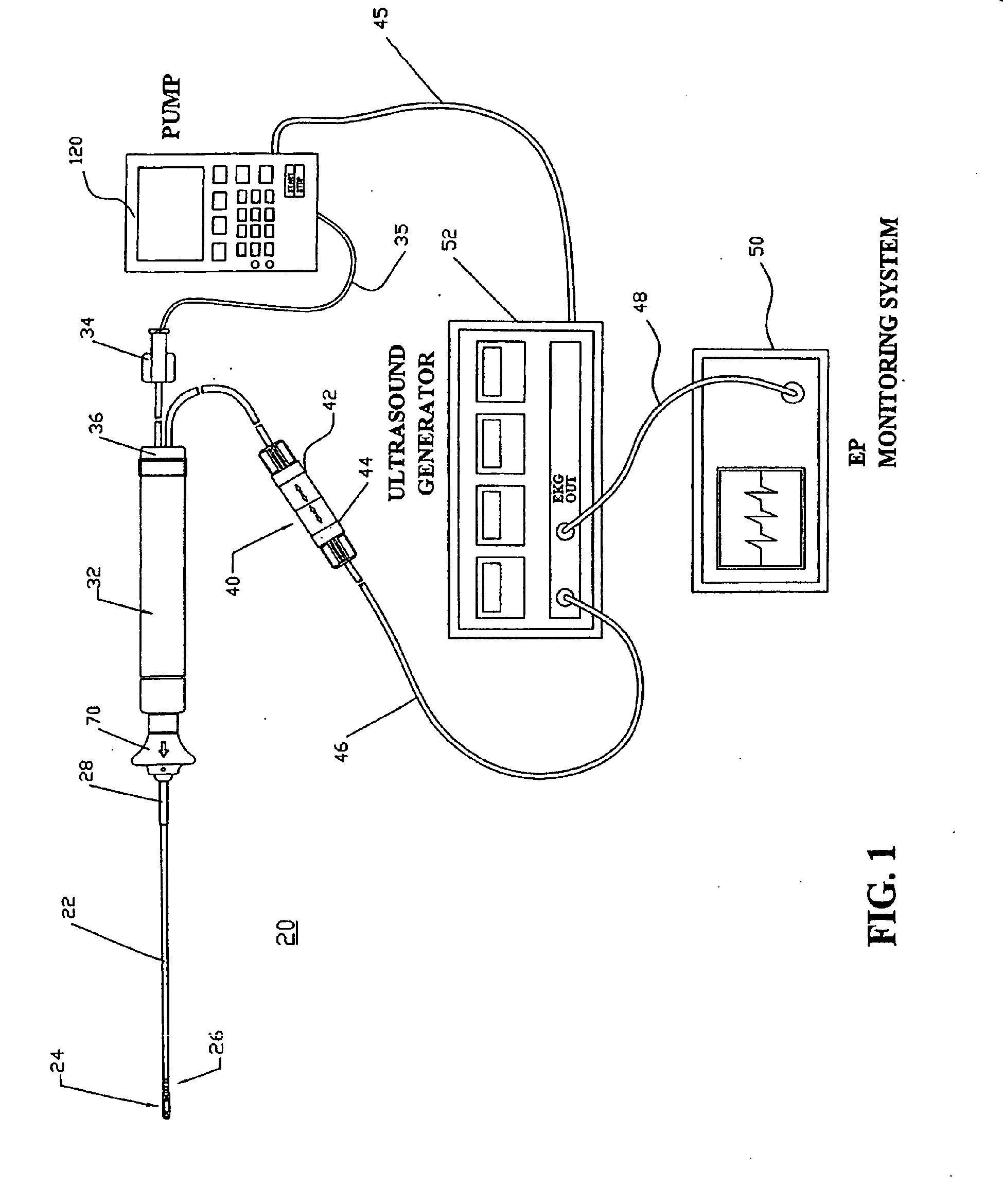
Non-contact tissue ablation device
授权日
2012-10-03
公开(公告)号
EP1595576B1
申请日
2005-05-10
公开(公告)日
2012-10-03
当前申请(专利权)人
IRVINE BIOMEDICAL, INC.
发明人
DE LA RAMA, ALAN | NGUYEN, THO HOANG | TRAN, VIVIAN | HATA, CARY K. | CHEN, PETER C.
简单同族
CA2506921A1 | CA2506921C | CN100531679C | CN1720874A | EP1595576A1 | EP1595576B1 | JP2005324029A | JP2005324029A5 | JP4588528B2 | US20050256518A1 | US20080177205A1 | US7285116
简单同族成员数量
12
简单同族被引用专利总数
172
诉讼案件数
0
法律状态/事件
权利终止
抱歉,您的浏览器不支持PDF预览,请点击链接下载PDF文件