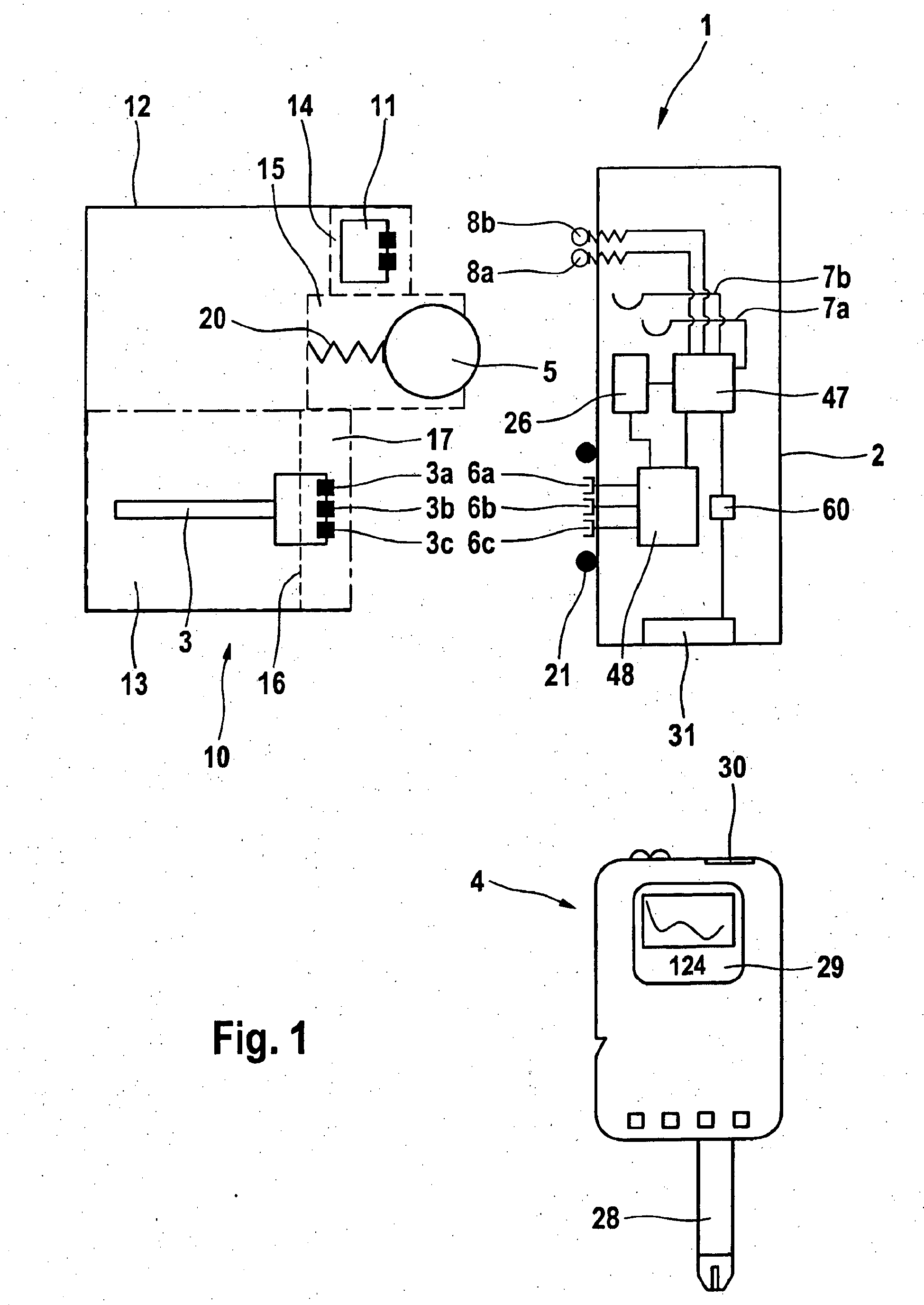
System for in vivo measurement of an analyte concentration
授权日
2016-06-29
公开(公告)号
EP1972269B1
申请日
2007-12-13
公开(公告)日
2016-06-29
当前申请(专利权)人
F.HOFFMANN-LA ROCHE AG | ROCHE DIABETES CARE GMBH
发明人
ROESICKE, BERND | OBERMAIER, KARIN | LINDEGGER, STEFAN | MENKE, ANDREAS | SCHERER, JÖRG | SCHWIND, KARIN | GAA, OTTO | BAINCZYK, GREGOR | MARQUANT, MICHAEL | NIEDERHÄUSER, SANDRO | SCHOEMAKER, MICHAEL | MÜRI, MARTIN