专利数据库
统计分析
产业报告
专利数据监控
产业人才
行业动态
产业政策法规
维权援助
个人中心
详情
文本
图像
标题
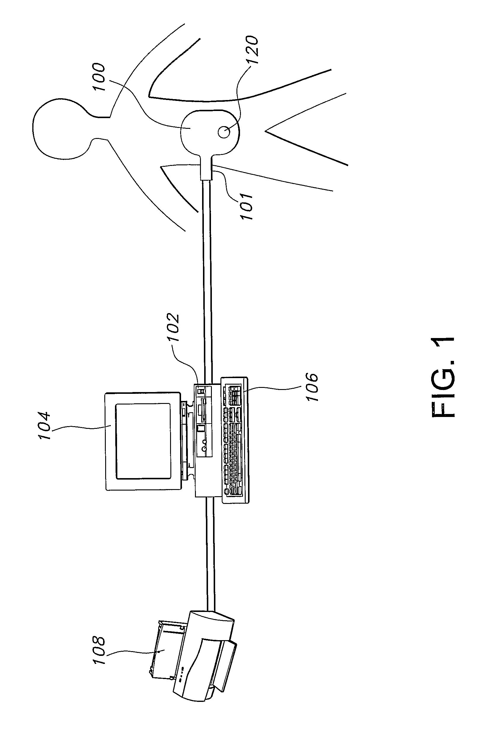
Communication with an implanted wireless sensor
授权日
2015-12-23
公开(公告)号
EP1817593B1
申请日
2005-10-04
公开(公告)日
2015-12-23
当前申请(专利权)人
CARDIOMEMS, INC.
发明人
JOY, JAMES | KROH, JASON | ELLIS, MICHAEL | ALLEN, MARK | PYLE, WILTON
简单同族
AU2005301181A1 | AU2005301181B2 | AU2010257213A1 | AU2010257213B2 | CA2586103A1 | CA2586103C | CA2939127A1 | EP1817593A2 | EP1817593A4 | EP1817593B1 | US20060196277A1 | US20070096715A1 | US20090115396A1 | US20090224773A1 | US20090224837A1 | US20110181297A1 | US7245117 | US7498799 | US7550978 | US7679355 | US7839153 | US7932732 | US8237451 | WO2006049796A2 | WO2006049796A3
简单同族成员数量
25
简单同族被引用专利总数
169
诉讼案件数
0
法律状态/事件
授权 | 权利转移
抱歉,您的浏览器不支持PDF预览,请点击链接下载PDF文件