专利数据库
统计分析
产业报告
专利数据监控
产业人才
行业动态
产业政策法规
维权援助
个人中心
详情
文本
图像
标题
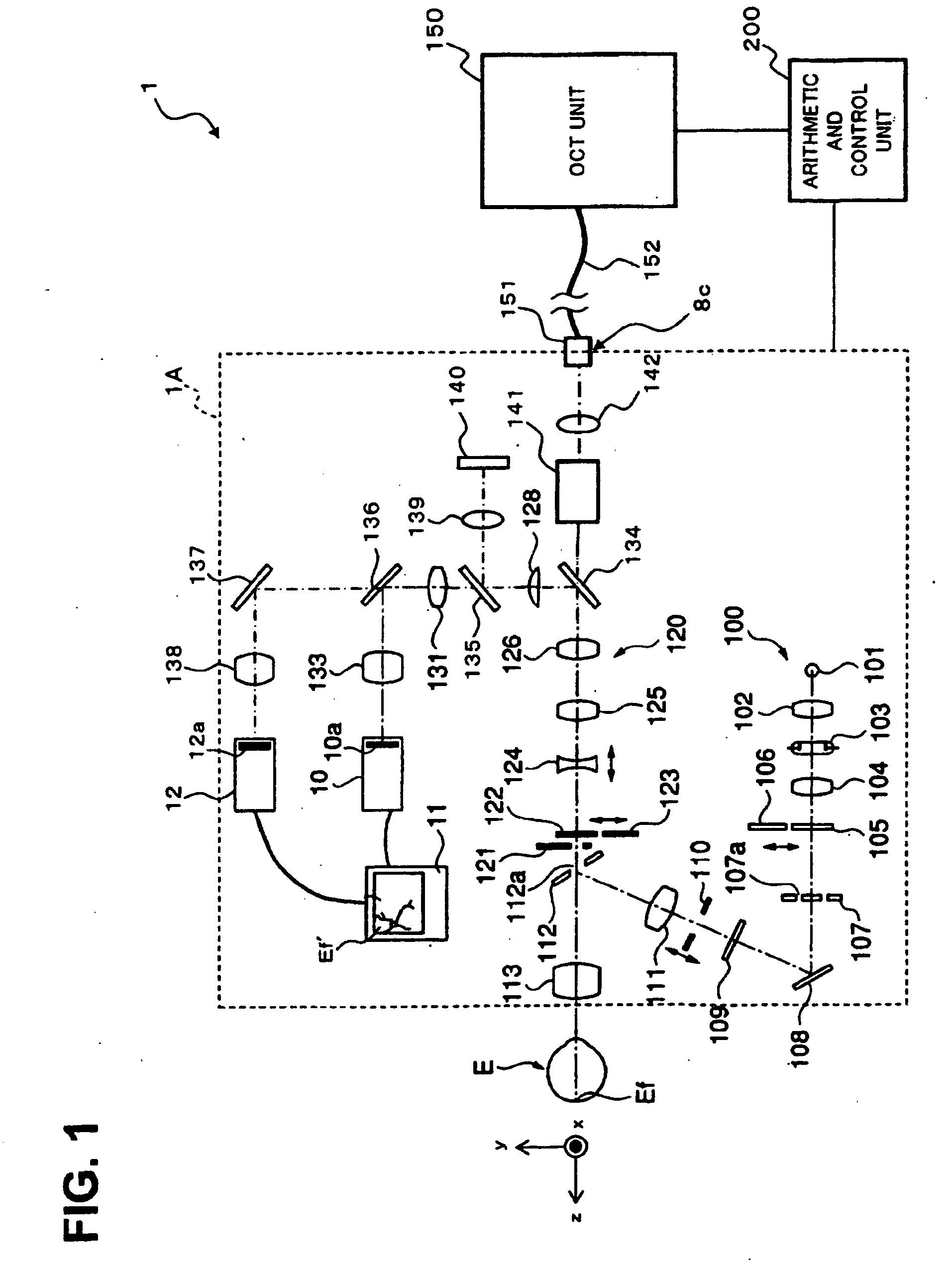
Fundus oculi observation device and fundus oculi image display device
授权日
2015-08-05
公开(公告)号
EP1935329B2
申请日
2007-12-14
公开(公告)日
2015-08-05
当前申请(专利权)人
KABUSHIKI KAISHA TOPCON
发明人
TSUKADA, HISASHI | HARUMOTO, KOKI | KIKAWA, TSUTOMU | FUKUMA, YASUFUMI | OTSUKA, HIROYUKI
简单同族
AT555716T | CN101204318A | CN101204318B | EP1935329A1 | EP1935329B1 | EP1935329B2 | JP2008154704A | JP5007114B2 | US20080151187A1 | US7794083
简单同族成员数量
10
简单同族被引用专利总数
179
诉讼案件数
0
法律状态/事件
授权 | 异议
抱歉,您的浏览器不支持PDF预览,请点击链接下载PDF文件