专利数据库
统计分析
产业报告
专利数据监控
产业人才
行业动态
产业政策法规
维权援助
个人中心
详情
文本
图像
标题
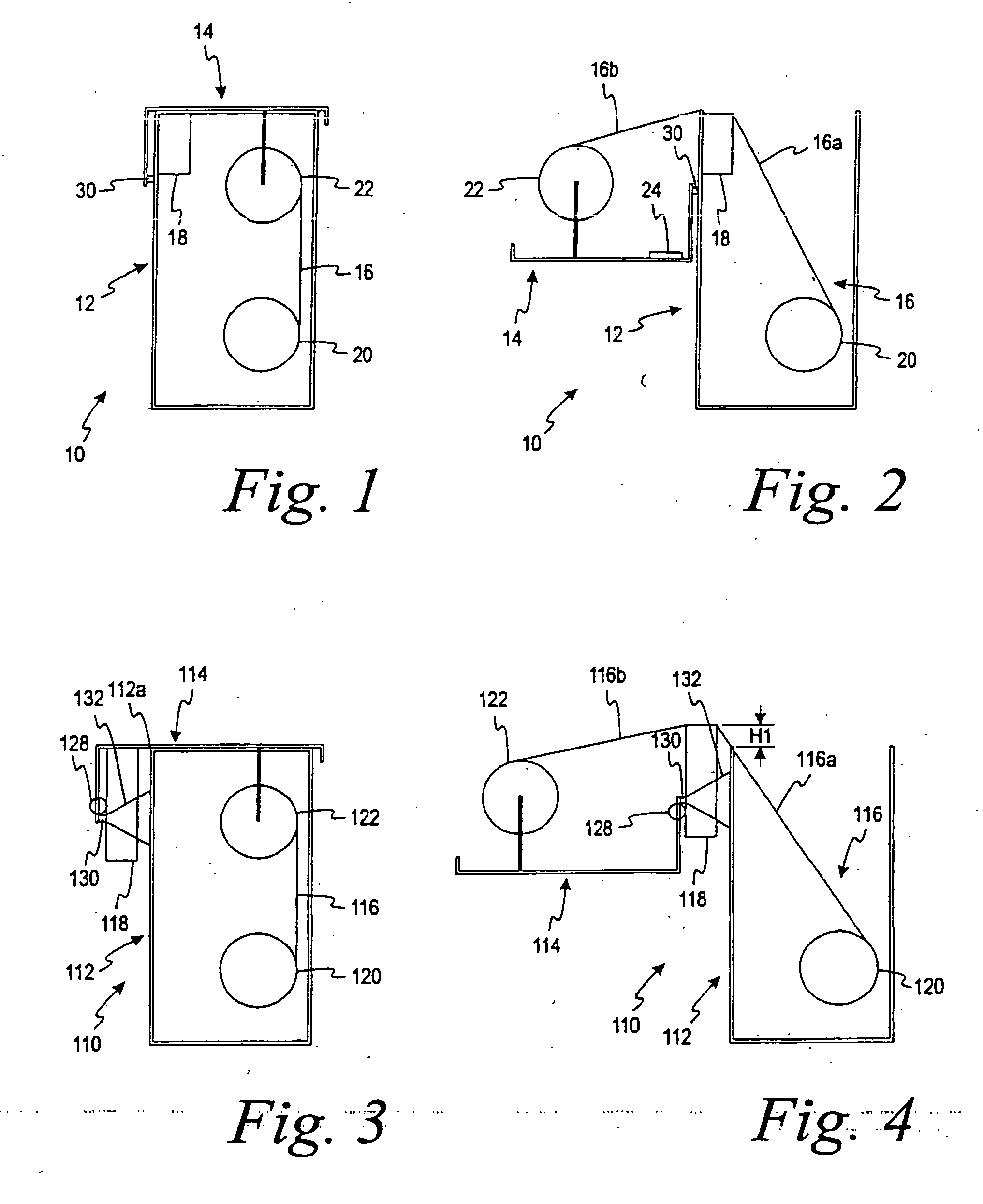
Containers for reading and handling diagnostic reagents and methods of using the same
授权日
2009-04-22
公开(公告)号
EP1488736B1
申请日
2004-06-07
公开(公告)日
2009-04-22
当前申请(专利权)人
BAYER HEALTHCARE LLC
发明人
CHARLTON, STEVEN C.
简单同族
AU2004202220A1 | CA2470659A1 | CA2470659C | DE602004020705D1 | EP1488736A1 | EP1488736B1 | JP2005043346A | JP2010032524A | JP4409370B2 | JP4927133B2 | US20040258564A1 | US20080199364A1 | US20100233025A1 | US20110165685A1 | US7364699 | US7749454 | US7927545 | US8178351
简单同族成员数量
18
简单同族被引用专利总数
173
诉讼案件数
0
法律状态/事件
授权 | 权利转移
抱歉,您的浏览器不支持PDF预览,请点击链接下载PDF文件