专利数据库
统计分析
产业报告
专利数据监控
产业人才
行业动态
产业政策法规
维权援助
个人中心
详情
文本
图像
标题
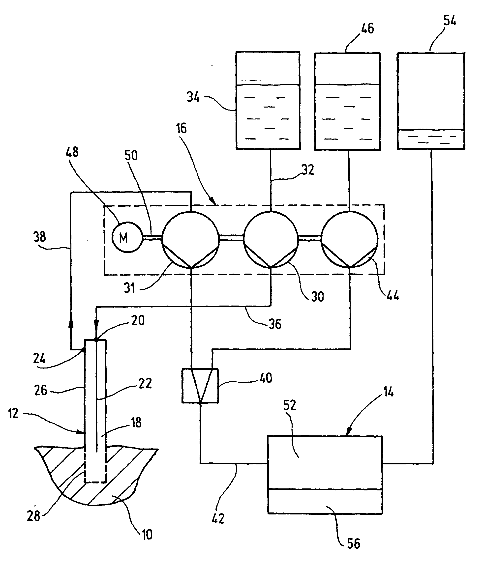
Microdialysis device
授权日
2004-10-20
公开(公告)号
EP1177759B1
申请日
2001-07-05
公开(公告)日
2004-10-20
当前申请(专利权)人
ROCHE DIAGNOSTICS GMBH | F. HOFFMANN-LA ROCHE AG
发明人
ROEPER, JOSEF | SCHOEMAKER, MICHAEL | HOERAUF, CHRISTIAN
简单同族
AT279877T | DE10038835A1 | DE10038835B4 | EP1177759A1 | EP1177759B1 | ES2230215T3 | JP2002126074A | JP2002126074A5 | JP4061039B2 | US20020082490A1 | US6591126
简单同族成员数量
11
简单同族被引用专利总数
182
诉讼案件数
0
法律状态/事件
权利终止 | 权利转移
抱歉,您的浏览器不支持PDF预览,请点击链接下载PDF文件