专利数据库
统计分析
产业报告
专利数据监控
产业人才
行业动态
产业政策法规
维权援助
个人中心
详情
文本
图像
标题
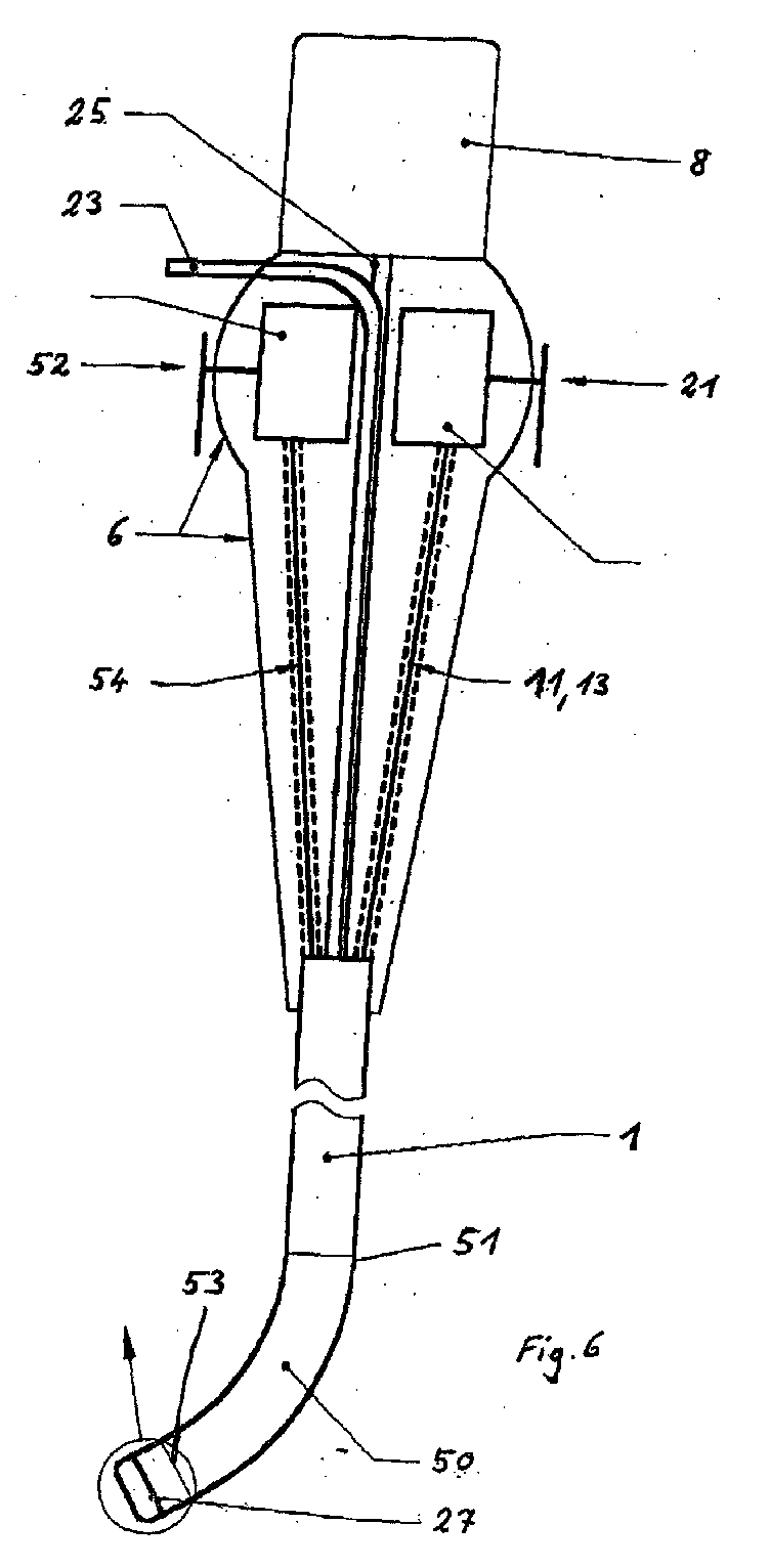
Endoscopic device especially for intubation emergency
授权日
1900-01-01
公开(公告)号
EP1224904A3
申请日
2001-12-19
公开(公告)日
2003-06-25
当前申请(专利权)人
KARL STORZ GMBH & CO. KG
发明人
PILVISTO, TONIS
简单同族
DE10100533A1 | DE50109147D1 | EP1224904A2 | EP1224904A3 | EP1224904B1 | US20020177750A1 | US6699182
简单同族成员数量
7
简单同族被引用专利总数
185
诉讼案件数
0
法律状态/事件
权利终止 | 权利转移
抱歉,您的浏览器不支持PDF预览,请点击链接下载PDF文件