专利数据库
统计分析
产业报告
专利数据监控
产业人才
行业动态
产业政策法规
维权援助
个人中心
详情
文本
图像
标题
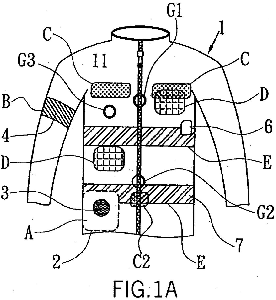
Method and device for monitoring physiologic signs and implementing emergency disposals
授权日
1900-01-01
公开(公告)号
EP1550398A4
申请日
2002-06-17
公开(公告)日
2007-11-21
当前申请(专利权)人
YANG, CHANG-MING
发明人
YANG, CHANG-MING
简单同族
AU2002323756A1 | CA2488866A1 | CN100407983C | CN1627914A | EP1550398A1 | EP1550398A4 | JP2005533541A | TW528593B | US20050228234A1 | WO2003105682A1
简单同族成员数量
10
简单同族被引用专利总数
193
诉讼案件数
0
法律状态/事件
撤回
抱歉,您的浏览器不支持PDF预览,请点击链接下载PDF文件