专利数据库
统计分析
产业报告
专利数据监控
产业人才
行业动态
产业政策法规
维权援助
个人中心
详情
文本
图像
标题
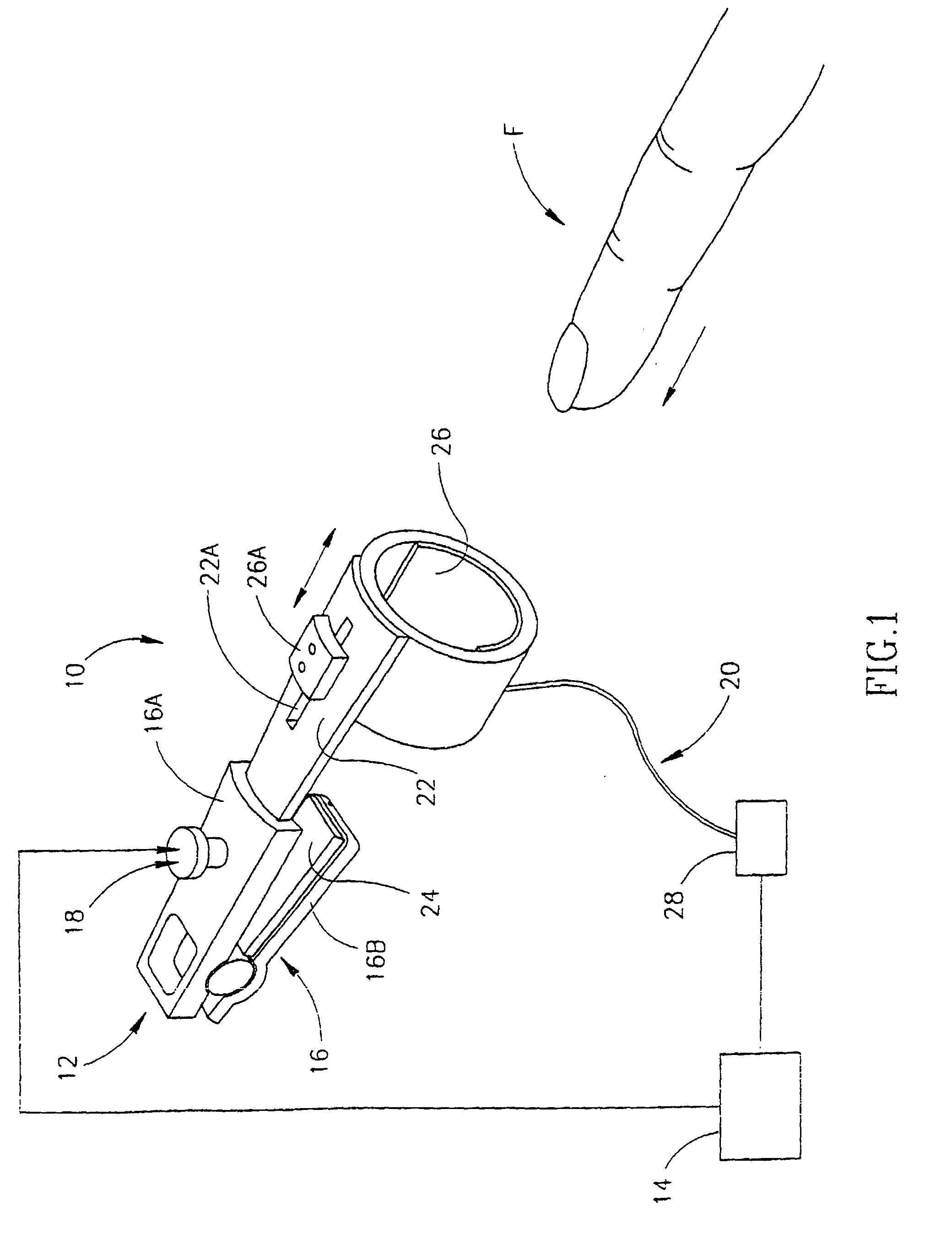
An optical device for non-invasive measurement of blood-related signals utilizing a finger holder
授权日
2003-06-25
公开(公告)号
EP1217941B1
申请日
2000-09-27
公开(公告)日
2003-06-25
当前申请(专利权)人
ORSENSE LTD.
发明人
FINAROV, ALEXANDER | KLEINMAN, YOSSIE | FINE, ILYA
简单同族
AT243467T | AU2000075520A1 | DE60003572D1 | DE60003572T2 | EP1217941A1 | EP1217941B1 | JP2003510120A | US6213952 | WO2001022868A1
简单同族成员数量
9
简单同族被引用专利总数
201
诉讼案件数
0
法律状态/事件
权利终止
抱歉,您的浏览器不支持PDF预览,请点击链接下载PDF文件