专利数据库
统计分析
产业报告
专利数据监控
产业人才
行业动态
产业政策法规
维权援助
个人中心
详情
文本
图像
标题
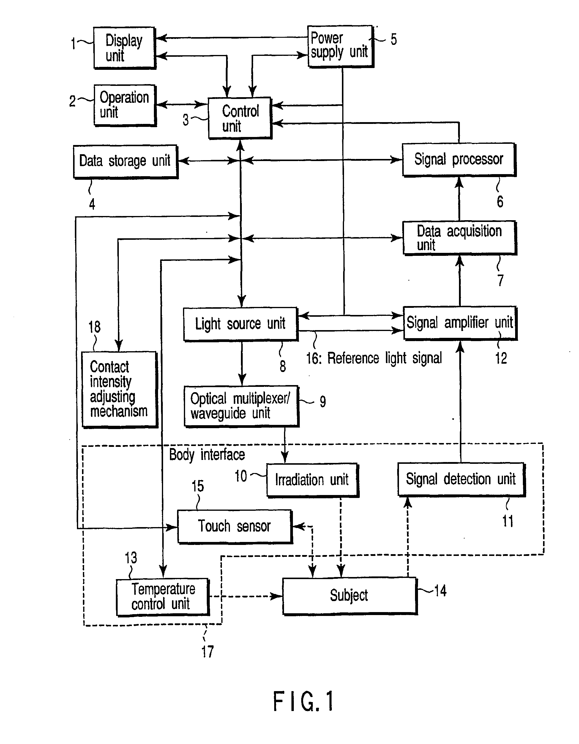
Method and apparatus for non-invasive measurement of living body characteristics by photoacoustics
授权日
2010-12-22
公开(公告)号
EP1565739B1
申请日
2003-10-28
公开(公告)日
2010-12-22
当前申请(专利权)人
KABUSHIKI KAISHA TOSHIBA | ABBOTT LABORATORIES
发明人
KANAYAMA, SHOICHI | ITSUMI, KAZUHIRO | KHALIL, OMAR, S. | KANTOR, STANISLAW
简单同族
AT492803T | CA2501972A1 | CN1283206C | CN1493252A | CN1765318A | DE60335491D1 | EP1565739A1 | EP1565739B1 | JP2004147940A | JP4234393B2 | KR100722593B1 | KR1020040040284A | WO2004042382A1
简单同族成员数量
13
简单同族被引用专利总数
147
诉讼案件数
0
法律状态/事件
授权 | 权利转移
抱歉,您的浏览器不支持PDF预览,请点击链接下载PDF文件