专利数据库
统计分析
产业报告
专利数据监控
产业人才
行业动态
产业政策法规
维权援助
个人中心
详情
文本
图像
标题
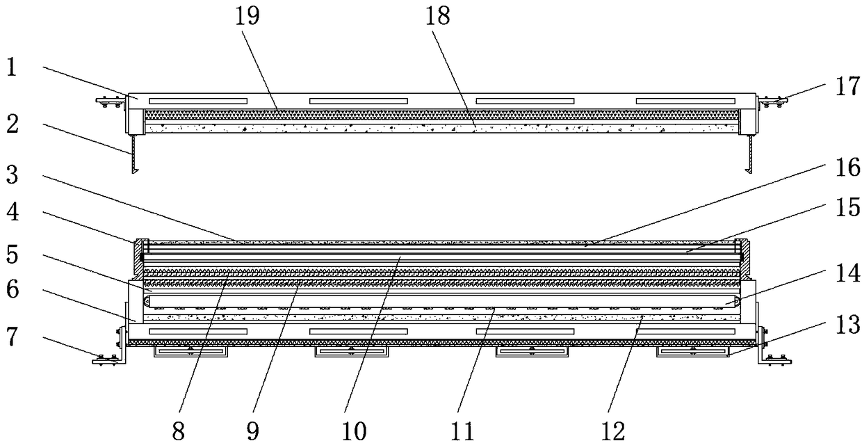
一种可防止显示器两侧边亮度不均的反射膜及背光模组
授权日
1900-01-01
公开(公告)号
CN108957850A
申请日
2018-07-03
公开(公告)日
2018-12-07
当前申请(专利权)人
浙江锦浩光电材料有限公司
发明人
黄亚斌 | 徐仕政
简单同族
CN108957850A
简单同族成员数量
1
简单同族被引用专利总数
0
诉讼案件数
0
法律状态/事件
实质审查
抱歉,您的浏览器不支持PDF预览,请点击链接下载PDF文件