专利数据库
统计分析
产业报告
专利数据监控
产业人才
行业动态
产业政策法规
维权援助
个人中心
详情
文本
图像
标题
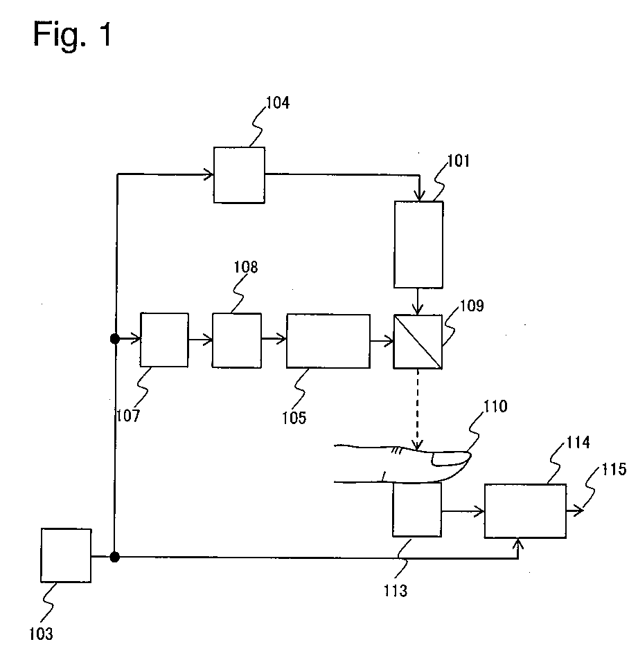
Component concentration measuring device and method of controlling component concentration measuring device
授权日
1900-01-01
公开(公告)号
EP1743576A1
申请日
2005-05-02
公开(公告)日
2007-01-17
当前申请(专利权)人
NIPPON TELEGRAPH AND TELEPHONE CORPORATION
发明人
NAGANUMA, KAZUNORI, NTT INTELLECTUAL PROPERTY CTR. | TAJIMA, TAKURO, NTT INTELLECTUAL PROPERTY CTR. | OKABE, YUICHI, NTT INTELLECTUAL PROPERTY CTR. | SUDO, SHOICHI, NTT INTELLECTUAL PROPERTY CTR.
简单同族
EP1743576A1 | EP1743576A4 | EP1743576B1 | EP2335579A2 | EP2335579A3 | EP2335579B1 | EP2336747A2 | EP2336747A3 | EP2336747B1 | JP2010104858A | JP2010139510A | JP4536060B2 | JP5000736B2 | JP5284999B2 | JPWO2005107592A1 | US20070197886A1 | US20130118262A1 | US20130123590A1 | US20130123591A1 | US8332006 | US9008742 | US9060691 | US9198580 | WO2005107592A1
简单同族成员数量
24
简单同族被引用专利总数
203
诉讼案件数
0
法律状态/事件
授权
抱歉,您的浏览器不支持PDF预览,请点击链接下载PDF文件