专利数据库
统计分析
产业报告
专利数据监控
产业人才
行业动态
产业政策法规
维权援助
个人中心
详情
文本
图像
标题
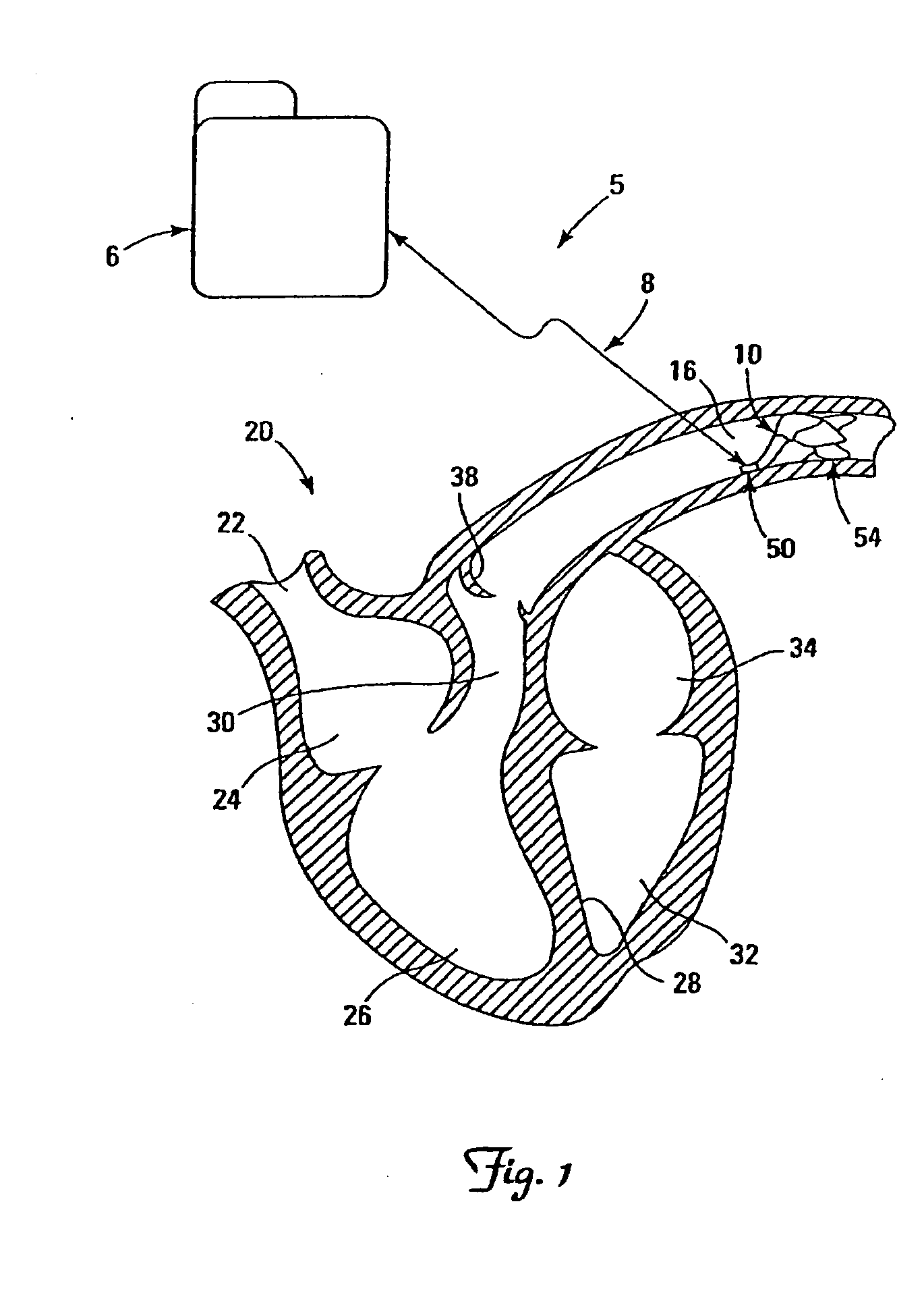
Anchor for an implantable medical device
授权日
2011-07-20
公开(公告)号
EP2061373B1
申请日
2007-09-14
公开(公告)日
2011-07-20
当前申请(专利权)人
CARDIAC PACEMAKERS, INC.
发明人
GREENLAND, JOHN S. | D'AQUANNI, PETER J. | CHIN, WILLIAM S. | PETERSON, CHUCK | MAGRINI, KEVIN M. | DELGADO, JESSIE | FRULAND, BENJAMIN R.
简单同族
AT516747T | AU2007296345A1 | AU2007296345B2 | CN101516259A | CN101516259B | EP2061373A2 | EP2061373B1 | ES2369203T3 | JP2011501972A | JP5156749B2 | US20080071178A1 | US8057399 | WO2008034077A2 | WO2008034077A3
简单同族成员数量
14
简单同族被引用专利总数
130
诉讼案件数
0
法律状态/事件
权利终止
抱歉,您的浏览器不支持PDF预览,请点击链接下载PDF文件