专利数据库
统计分析
产业报告
专利数据监控
产业人才
行业动态
产业政策法规
维权援助
个人中心
详情
文本
图像
标题
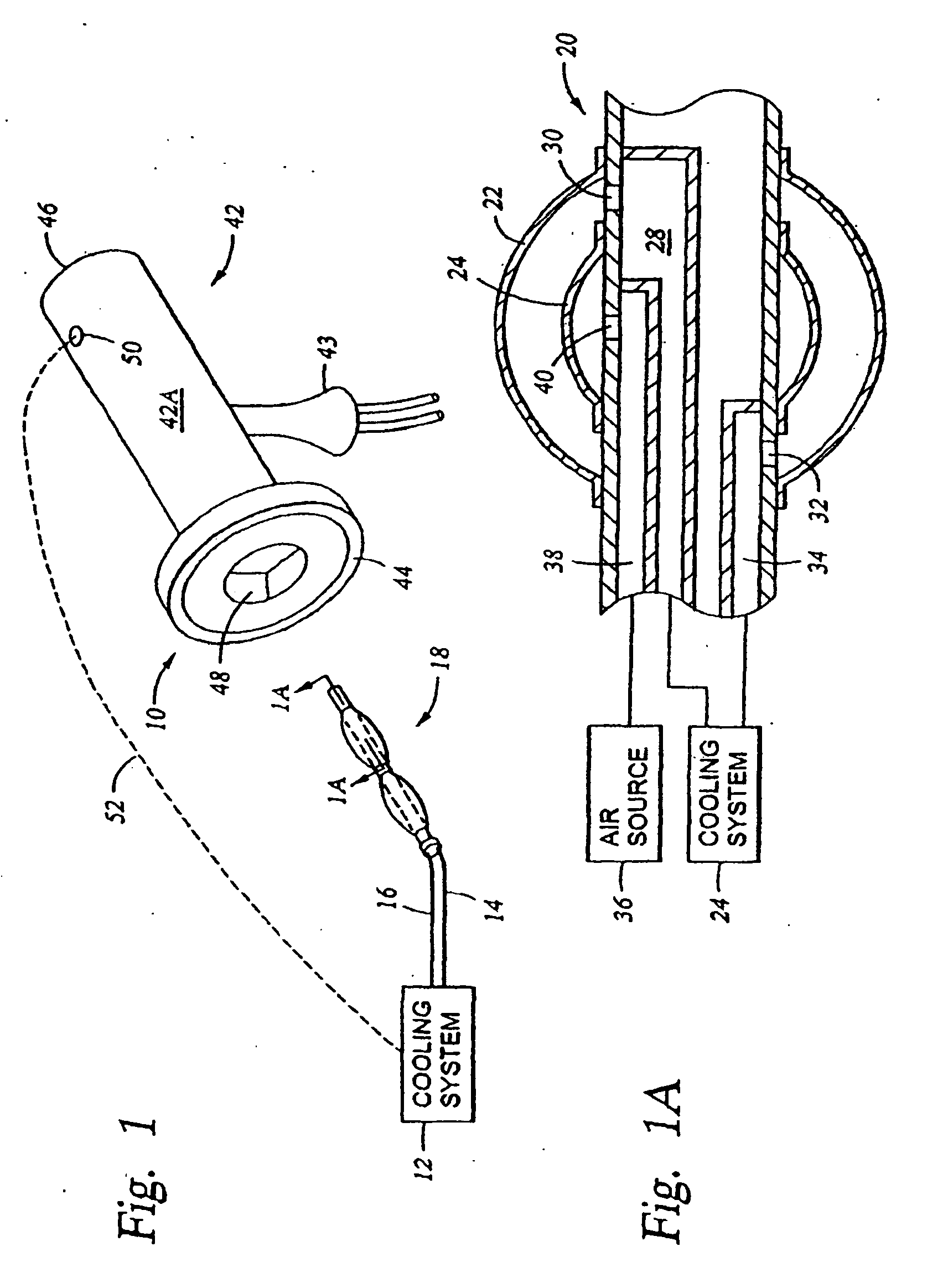
Central venous catheter with heat exchange properties
授权日
2013-03-06
公开(公告)号
EP2255725B1
申请日
2000-08-16
公开(公告)日
2013-03-06
当前申请(专利权)人
ZOLL CIRCULATION, INC.
发明人
EVANS, SCOTT M. | LUO, XIA | PECOR, ROBERT | WALKER, BLAIR | SHIMADA, LYNN M. | WORTHEN, WILLIAM J.
简单同族
AT404111T | AU2000078809A1 | DE60039888D1 | DK1915943T3 | EP1204368A1 | EP1204368A4 | EP1204368B1 | EP1915943A1 | EP1915943B1 | EP2255725A1 | EP2255725B1 | ES2397792T3 | PT1915943E | US6419643 | US6652565 | WO2001012061A1
简单同族成员数量
16
简单同族被引用专利总数
213
诉讼案件数
0
法律状态/事件
授权
抱歉,您的浏览器不支持PDF预览,请点击链接下载PDF文件