专利数据库
统计分析
产业报告
专利数据监控
产业人才
行业动态
产业政策法规
维权援助
个人中心
详情
文本
图像
标题
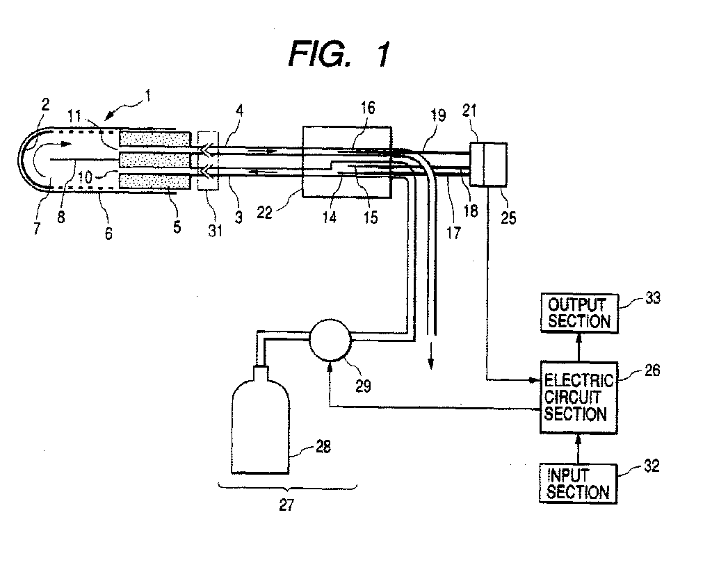
Gas sensor and gas sensor system
授权日
1900-01-01
公开(公告)号
EP1130393A3
申请日
2001-02-02
公开(公告)日
2001-11-28
当前申请(专利权)人
NIHON KOHDEN CORPORATION
发明人
NAKAMURA, MICHIHIRO, NIHON KOHDEN CORPORATION | NAGAI, YUKO, NIHON KOHDEN CORPORATION | SEKIGUCHI, TETSUSHI, NIHON KOHDEN CORPORATION
简单同族
EP1130393A2 | EP1130393A3 | US20010011475A1 | US6370941
简单同族成员数量
4
简单同族被引用专利总数
211
诉讼案件数
0
法律状态/事件
撤回
抱歉,您的浏览器不支持PDF预览,请点击链接下载PDF文件