专利数据库
统计分析
产业报告
专利数据监控
产业人才
行业动态
产业政策法规
维权援助
个人中心
详情
文本
图像
标题
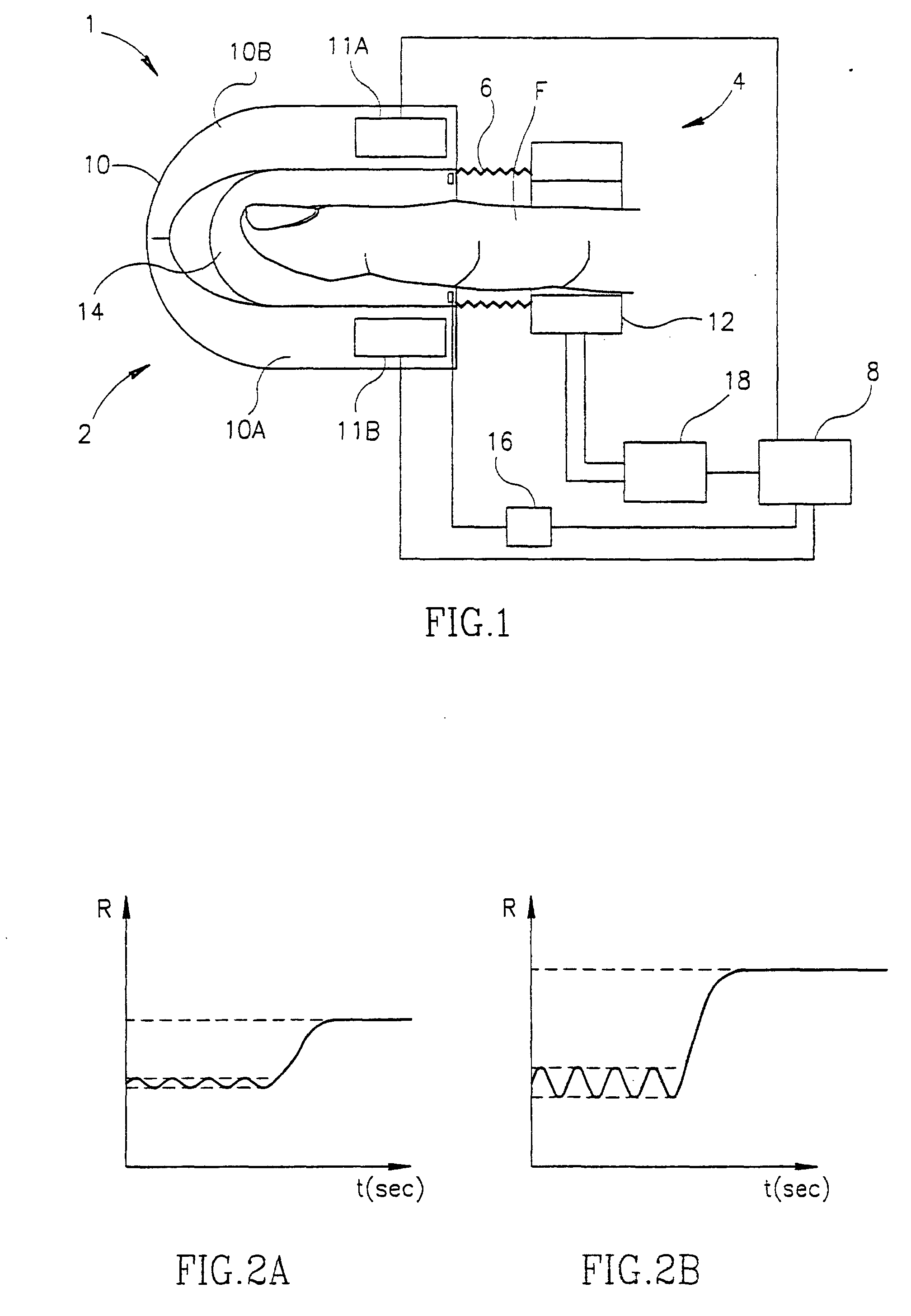
An optical device for non-invasive measurement of blood-related signals and a finger holder therefor
授权日
2004-01-28
公开(公告)号
EP1223851B1
申请日
2000-10-06
公开(公告)日
2004-01-28
当前申请(专利权)人
ORSENSE LTD.
发明人
FINAROV, ALEXANDER | KLEINMAN, YOSSIE | FINE, ILYA
简单同族
AT258409T | AU2000076830A1 | DE60008011D1 | DE60008011T2 | EP1223851A1 | EP1223851B1 | JP2003511141A | JP4767464B2 | US6400971 | WO2001026539A1
简单同族成员数量
10
简单同族被引用专利总数
172
诉讼案件数
0
法律状态/事件
授权
抱歉,您的浏览器不支持PDF预览,请点击链接下载PDF文件