专利数据库
统计分析
产业报告
专利数据监控
产业人才
行业动态
产业政策法规
维权援助
个人中心
详情
文本
图像
标题
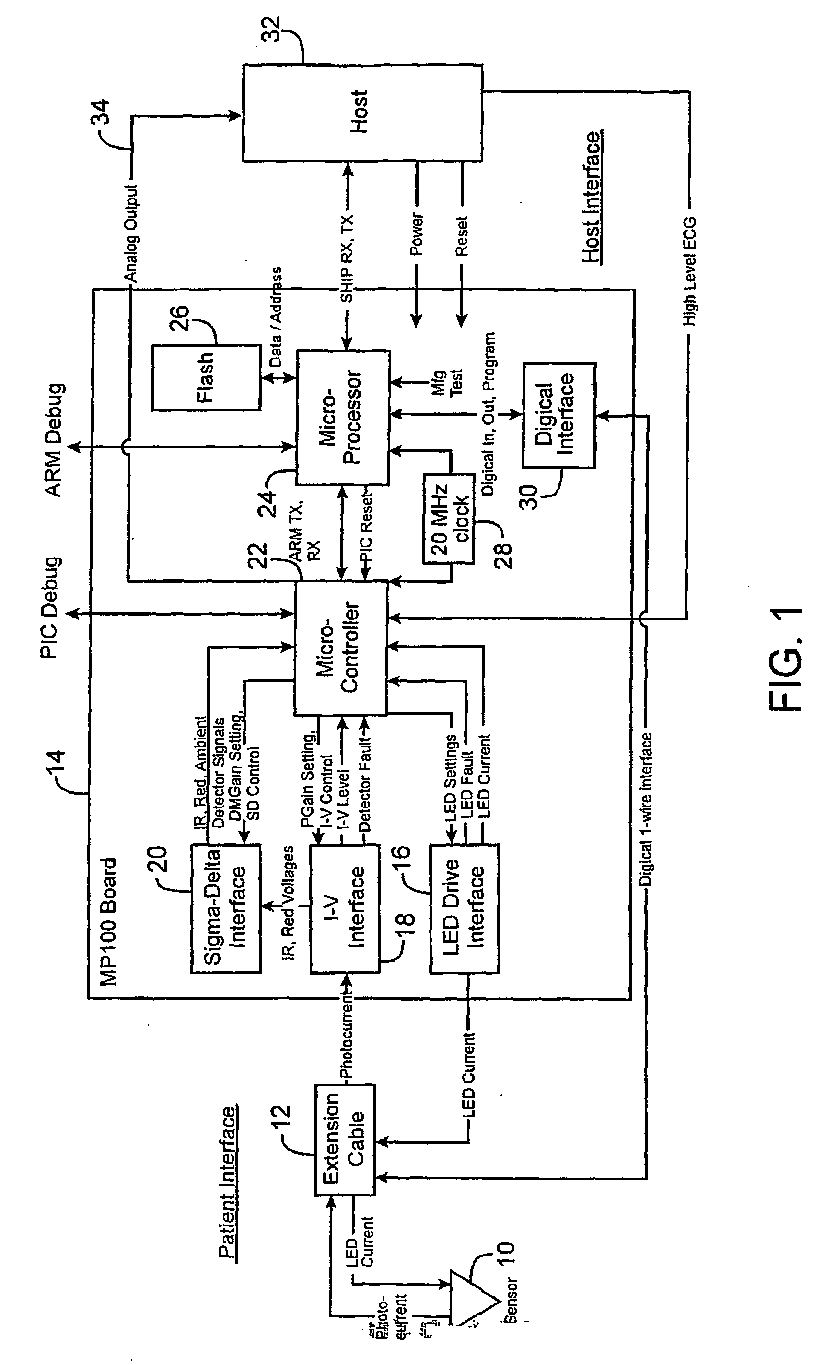
Delta-sigma modulator for outputting analog representation of physiological signal
授权日
2010-05-26
公开(公告)号
EP1729630B1
申请日
2005-02-24
公开(公告)日
2010-05-26
当前申请(专利权)人
NELLCOR PURITAN BENNETT LLC
发明人
PETERSEN, ETHAN | SHEA, WILLIAM | CHEW, BRADFORD, B.
简单同族
AT468807T | AU2005216959A1 | CA2556755A1 | CA2556755C | CN1933770A | DE602005021470D1 | EP1729630A1 | EP1729630B1 | ES2344112T3 | HK1100519A | JP2007523728A | JP4705626B2 | KR1020070029676A | MXPA06009749A | US20050187453A1 | US7212847 | WO2005082237A1
简单同族成员数量
17
简单同族被引用专利总数
77
诉讼案件数
0
法律状态/事件
授权 | 权利转移
抱歉,您的浏览器不支持PDF预览,请点击链接下载PDF文件